DEHNcon-H

Con la posa diretta sul tetto dei conduttori metallici nudi e non isolati del dispositivo di captazione, si deve rispettare la distanza di sicurezza verso i sistemi elettrici e metallici installati sotto il tetto, in conformità allo stato della tecnica e ai requisiti della norma di protezione contro i fulmini DIN EN 62305-3 (VDE 0185-305-3). Al di sotto della copertura del tetto si trovano spesso sistemi di condutture, tubazioni o parti metalliche nelle immediate vicinanze di dispositivi di captazione/calate, con conseguenti possibili problemi di vicinanza. La soluzione a simili problemi di vicinanza è costituita da dispositivi di captazione separati con calate munite di isolamento dall’alta tensione.

– Nuovo sistema per il dispositivo di captazione isolato di impianti ricetrasmittenti (antenne paraboliche o terrestri) oppure di interi edifici o parti di edifici.
– Versione esteticamente adattata per mezzo della posa interna della conduttura HVI light nel tubo portante, dimensione dei tubi portanti ridotta (tubo in Al 40 x 5 mm) con minimo peso della struttura completa; anche per il montaggio su pali d’antenna già esistenti.
– Il terminale di connessione situato all’interno esce all’esterno nella parte inferiore del tubo con un conduttore piatto flessibile in acciaio inox per il collegamento all’equipotenzialità.
– Conduttura isolata resistente all’alta tensione, per il rispetto della distanza di sicurezza dalle parti elettricamente conduttive secondo la norma DIN EN 62305-3 (VDE 0185-305-3)
– Distanza di sicurezza equivalente s ≤ 45 cm (in aria) o s ≤ 90 cm (materiale di muratura).
– Tubo portante con tratto isolante in plastica rinforzata con fibra di vetro (PRFV), tubo Ø 30 mm
– Fattore di materiale km = 0,7
– Colore grigio chiaro, stabilizzato ai raggi UV

La conduttura HVI light soddisfa i requisiti della specifica tecnica DIN IEC/TS 62561-8 (VDE V 0185-561-8).

Dettagli

Dettaglio – tubo portante con conduttura posata.
lorem ipsum

Conduttura HVI light nel tubo portante con punta di captazione

Con terminale interno e punta di captazione INOX Ø10 mm.

4 Prodotti

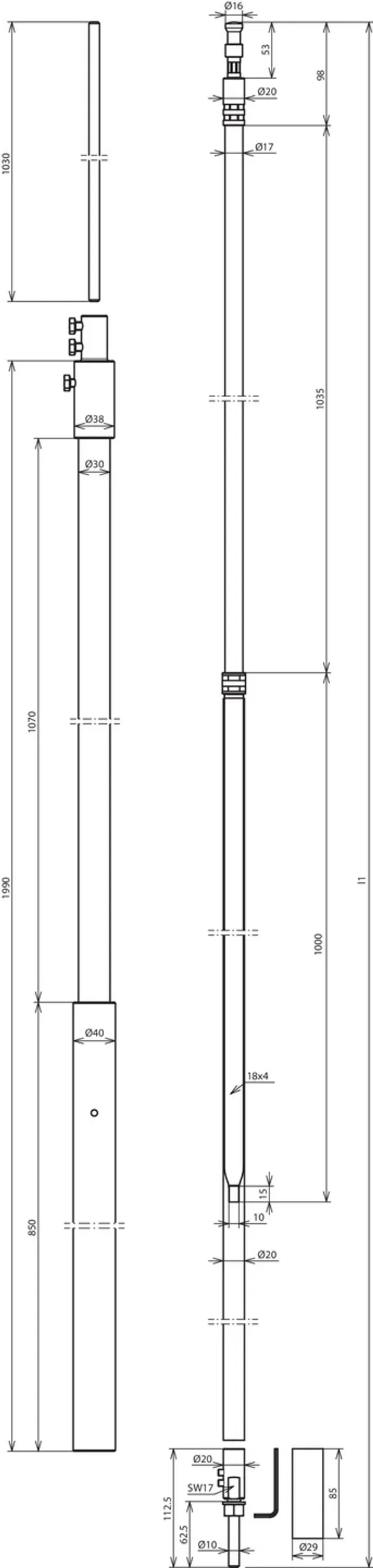
Art. 819255 HVI LI 20 L6M SR1990 FSP500 GFK AL V2A

GTIN (EAN) 4013364255371, Codice doganale (EU): 85389099, Peso lordo: 6.84 kg, UM: 1.00 pz.

Predecessore

Immagini

Maggior informazioni

DEHNcon-H HVI light conduttura in tubo portante 1990 mm con punta di captazione 500 mm
DEHNcon-H impianto di captazione separato
ad es. da impianti rice-trasmittenti
(antenne paraboliche, antenne terrestri).
Versione esteticamente modificata grazie alla posa
della conduttura HVI light all’interno del tubo portante
Calata isolata resistente all’alta tensione, per il rispetto
della distanza di separazione dalle parti elettricamente conduttive
secondo la norma DIN EN 62305-3 (VDE 0185-305-3)
Distanza di separazione equivalente s =< 45 cm (in aria)
o s =< 90 cm (muratura).
I tubi portanti sono dimensionati conformi
all’Eurocode 1 (DIN EN 1991-1-4 + DIN EN 1991-1-4/NA).
Conduttura HVI light posata nel tubo portante, con apposito
terminale situato internamente e punta di captazione Ø 10 mm lunghezza 500 mm.
Materiale tubo portante: PRFV / Al
Lunghezza tubo portante: 1990 mm
Diametro Ø conduttura: 20 mm
Colore conduttura: grigio ●
Materiale conduttura: Cu
Distanza di sicurezza equivalente s (in aria): ≤ 45 cm
Ordine minimo : 6 m
Max. velocità delle raffiche di vento : (max lunghezza libera 1890 mm, 1 HVI light interna) 240 km/h
Lunghezza libera max.: 1890 mm
Lunghezza di serraggio min. : 600 mm
Riferimento normativo: DIN IEC/TS 62561-8 (VDE V 0185-561-8)

Fabbricato: DEHN
Tipo: HVI LI 20 L6M SR1990 FSP500 GFK AL V2A
Art.: 819255
o similare.

Certificati

 

Caratteristiche tecniche

Materiale tubo portante PRFV / Al
Lunghezza tubo portante 1990 mm
Lunghezza punta di captazione 500 mm
Materiale conduttura Cu
Distanza di sicurezza equivalente s (in aria) ≤ 45 cm
Ordine minimo 6 m
Max. velocità delle raffiche di vento (max lunghezza libera 1890 mm, 1 HVI light interna) 240 km/h
Lunghezza libera max. 1890 mm
Lunghezza di serraggio min. 600 mm
Riferimento normativo DIN IEC/TS 62561-8 (VDE V 0185-561-8)

Prodotto 819255 è stato aggiunto al blocco note.

Prodotto 819255 è stato aggiunto al carrello.

Apri Web-Shop

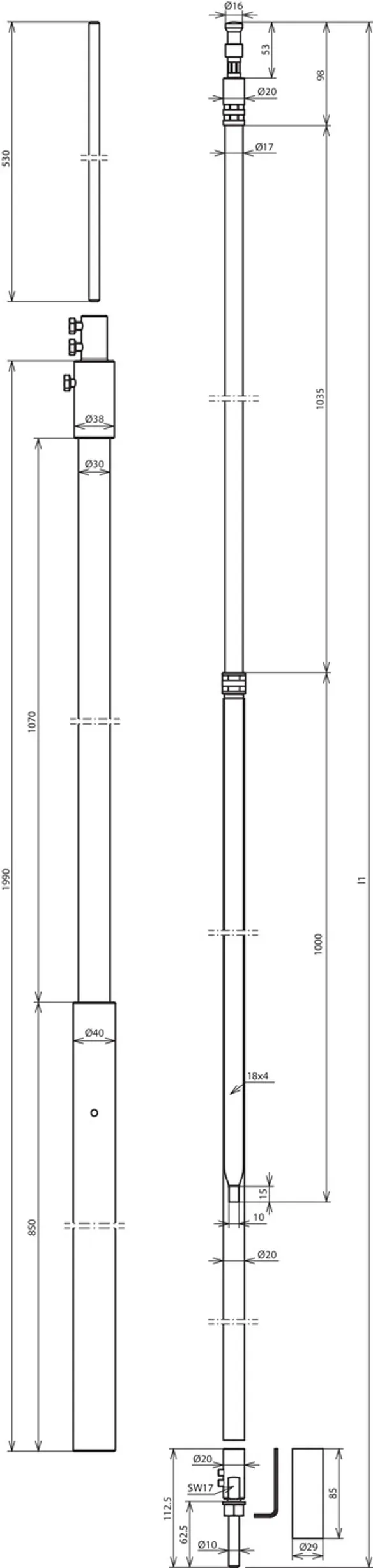
Art. 819256 HVI LI 20 L6M SR1990 FSP1000 GFK AL V2A

GTIN (EAN) 4013364255388, Codice doganale (EU): 85389099, Peso lordo: 7.14 kg, UM: 1.00 pz.

Predecessore

Immagini

Maggior informazioni

DEHNcon-H HVI light conduttura in tubo portante 1990 mm con punta di captazione 1000 mm
DEHNcon-H impianto di captazione separato
ad es. da impianti rice-trasmittenti
(antenne paraboliche, antenne terrestri).
Versione esteticamente modificata grazie alla posa
della conduttura HVI light all’interno del tubo portante
Calata isolata resistente all’alta tensione, per il rispetto
della distanza di separazione dalle parti elettricamente conduttive
secondo la norma DIN EN 62305-3 (VDE 0185-305-3)
Distanza di separazione equivalente s =< 45 cm (in aria)
o s =< 90 cm (muratura).
I tubi portanti sono dimensionati conformi
all’Eurocode 1 (DIN EN 1991-1-4 + DIN EN 1991-1-4/NA).
Conduttura HVI light posata nel tubo portante, con apposito
terminale situato internamente e punta di captazione Ø 10 mm lunghezza 1000 mm.
Materiale tubo portante: PRFV / Al
Lunghezza tubo portante: 1990 mm
Diametro Ø conduttura: 20 mm
Colore conduttura: grigio ●
Materiale conduttura: Cu
Distanza di sicurezza equivalente s (in aria): ≤ 45 cm
Ordine minimo : 6 m
Max. velocità delle raffiche di vento : (max lunghezza libera 2390 mm, 1 HVI light interna) 200 km/h
Lunghezza libera max.: 2390 mm
Lunghezza di serraggio min. : 600 mm
Riferimento normativo: DIN IEC/TS 62561-8 (VDE V 0185-561-8)

Fabbricato: DEHN
Tipo: HVI LI 20 L6M SR1990 FSP1000 GFK AL V2A
Art.: 819256
o similare.

Certificati

 

Caratteristiche tecniche

Materiale tubo portante PRFV / Al
Lunghezza tubo portante 1990 mm
Lunghezza punta di captazione 1000 mm
Materiale conduttura Cu
Distanza di sicurezza equivalente s (in aria) ≤ 45 cm
Ordine minimo 6 m
Max. velocità delle raffiche di vento (max lunghezza libera 2390 mm, 1 HVI light interna) 200 km/h
Lunghezza libera max. 2390 mm
Lunghezza di serraggio min. 600 mm
Riferimento normativo DIN IEC/TS 62561-8 (VDE V 0185-561-8)

Prodotto 819256 è stato aggiunto al blocco note.

Prodotto 819256 è stato aggiunto al carrello.

Apri Web-Shop

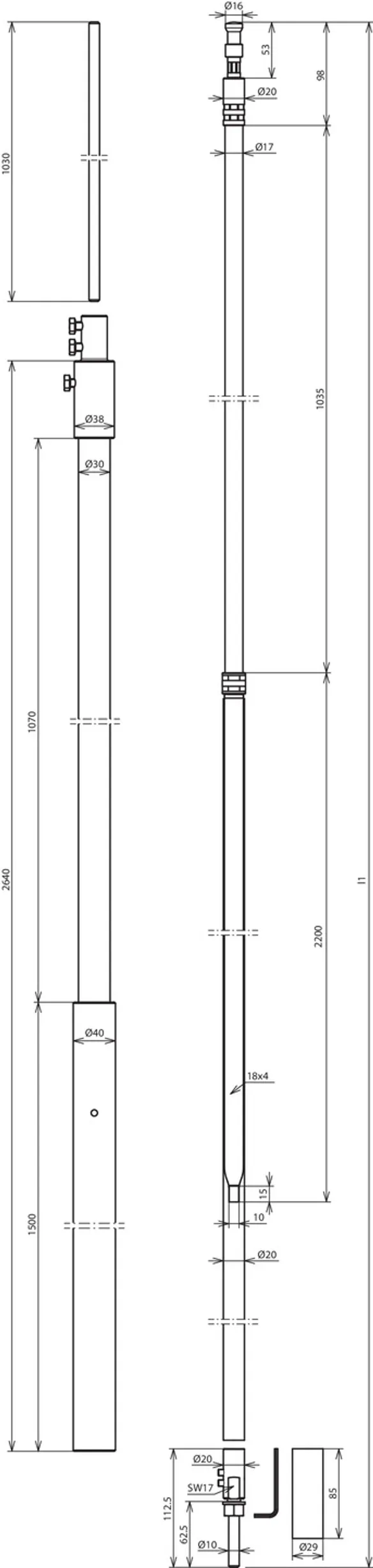
Art. 819257 HVI LI 20 L6M SR2640 FSP500 GFK AL V2A

GTIN (EAN) 4013364255395, Codice doganale (EU): 85389099, Peso lordo: 7.79 kg, UM: 1.00 pz.

Predecessore

Immagini

Maggior informazioni

DEHNcon-H HVI light conduttura in tubo portante 2640 mm con punta di captazione 500 mm
DEHNcon-H impianto di captazione separato
ad es. da impianti rice-trasmittenti
(antenne paraboliche, antenne terrestri).
Versione esteticamente modificata grazie alla posa
della conduttura HVI light all’interno del tubo portante
Calata isolata resistente all’alta tensione, per il rispetto
della distanza di separazione dalle parti elettricamente conduttive
secondo la norma DIN EN 62305-3 (VDE 0185-305-3)
Distanza di separazione equivalente s =< 45 cm (in aria)
o s =< 90 cm (muratura).
I tubi portanti sono dimensionati conformi
all’Eurocode 1 (DIN EN 1991-1-4 + DIN EN 1991-1-4/NA).
Conduttura HVI light posata nel tubo portante, con apposito
terminale situato internamente e punta di captazione Ø 10 mm lunghezza 500 mm.
Materiale tubo portante: PRFV / Al
Lunghezza tubo portante: 2640 mm
Diametro Ø conduttura: 20 mm
Colore conduttura: grigio ●
Materiale conduttura: Cu
Distanza di sicurezza equivalente s (in aria): ≤ 45 cm
Ordine minimo : 6 m
Max. velocità delle raffiche di vento : (max lunghezza libera 2540 mm, 1 HVI light interna) 240 km/h
Lunghezza libera max.: 2540 mm
Lunghezza di serraggio min. : 600 mm
Riferimento normativo: DIN IEC/TS 62561-8 (VDE V 0185-561-8)

Fabbricato: DEHN
Tipo: HVI LI 20 L6M SR2640 FSP500 GFK AL V2A
Art.: 819257
o similare.

Certificati

 

Caratteristiche tecniche

Materiale tubo portante PRFV / Al
Lunghezza tubo portante 2640 mm
Lunghezza punta di captazione 500 mm
Materiale conduttura Cu
Distanza di sicurezza equivalente s (in aria) ≤ 45 cm
Ordine minimo 6 m
Max. velocità delle raffiche di vento (max lunghezza libera 2540 mm, 1 HVI light interna) 240 km/h
Lunghezza libera max. 2540 mm
Lunghezza di serraggio min. 600 mm
Riferimento normativo DIN IEC/TS 62561-8 (VDE V 0185-561-8)

Prodotto 819257 è stato aggiunto al blocco note.

Prodotto 819257 è stato aggiunto al carrello.

Apri Web-Shop

Art. 819258 HVI LI 20 L6M SR2640 FSP1000 GFK AL V2A

GTIN (EAN) 4013364255418, Codice doganale (EU): 85389099, Peso lordo: 8.09 kg, UM: 1.00 pz.

Predecessore

Immagini

Maggior informazioni

DEHNcon-H HVI light conduttura in tubo portante 2640 mm con punta di captazione 1000 mm
DEHNcon-H impianto di captazione separato
ad es. da impianti rice-trasmittenti
(antenne paraboliche, antenne terrestri).
Versione esteticamente modificata grazie alla posa
della conduttura HVI light all’interno del tubo portante
Calata isolata resistente all’alta tensione, per il rispetto
della distanza di separazione dalle parti elettricamente conduttive
secondo la norma DIN EN 62305-3 (VDE 0185-305-3)
Distanza di separazione equivalente s =< 45 cm (in aria)
o s =< 90 cm (muratura).
I tubi portanti sono dimensionati conformi
all’Eurocode 1 (DIN EN 1991-1-4 + DIN EN 1991-1-4/NA).
Conduttura HVI light posata nel tubo portante, con apposito
terminale situato internamente e punta di captazione Ø 10 mm lunghezza 1000 mm.
Materiale tubo portante: PRFV / Al
Lunghezza tubo portante: 2640 mm
Diametro Ø conduttura: 20 mm
Colore conduttura: grigio ●
Materiale conduttura: Cu
Distanza di sicurezza equivalente s (in aria): ≤ 45 cm
Ordine minimo : 6 m
Max. velocità delle raffiche di vento : (max lunghezza libera 3040 mm, 1 HVI light interna) 201 km/h
Lunghezza libera max.: 3040 mm
Lunghezza di serraggio min. : 600 mm
Riferimento normativo: DIN IEC/TS 62561-8 (VDE V 0185-561-8)

Fabbricato: DEHN
Tipo: HVI LI 20 L6M SR2640 FSP1000 GFK AL V2A
Art.: 819258
o similare.

Certificati

 

Caratteristiche tecniche

Materiale tubo portante PRFV / Al
Lunghezza tubo portante 2640 mm
Lunghezza punta di captazione 1000 mm
Materiale conduttura Cu
Distanza di sicurezza equivalente s (in aria) ≤ 45 cm
Ordine minimo 6 m
Max. velocità delle raffiche di vento (max lunghezza libera 3040 mm, 1 HVI light interna) 201 km/h
Lunghezza libera max. 3040 mm
Lunghezza di serraggio min. 600 mm
Riferimento normativo DIN IEC/TS 62561-8 (VDE V 0185-561-8)

Prodotto 819258 è stato aggiunto al blocco note.

Prodotto 819258 è stato aggiunto al carrello.

Apri Web-Shop

back to top