Treccia di ponticellamento

Adatto al collegamento di rivestimenti metallici (rivettare oppure avvitare) come elemento di compensazione della dilatazione per conduttori tondi o come compensazione per determinate variazioni di lunghezza dei conduttori tondi dovute alla temperatura; Collegamento ad es. con connettore KS n. art. 301 019

Indicazione per l’utilizzo:
secondo la norma DIN EN 62305-3 parte 1, con materiale di spessore ≥ 0,5 mm occorre utilizzare per il collegamento quattro rivetti Ø5 mm oppure, con materiale di spessore ≥ 2 mm, due viti auto-filettanti Ø6,3 mm in acciaio inox (su entrambi i lati).

Esecuzione corta

2 Prodotti

Art. 377015 UEBB L180 B10.5 B5.2 AL

GTIN (EAN) 4013364092693, Codice doganale (EU): 85359000, Peso lordo: 36.00 g, UM: 10.00 pz.


Immagini

Maggior informazioni

Cavallotto di ponticellamento Esecuzione corta Al
Cavallotto di ponticellamento per il collegamento e la connessione di rivestimenti metallici mediante rivetti oppure viti
Materiale: Al
Lunghezza: 180 mm
Fissaggio: [8x] Ø5,2 / [2x] Ø10,5 mm
Riferimento norma: CEI EN 62561-1

Fabbricato: DEHN
Tipo: UEBB L180 B10.5 B5.2 AL
Art.: 377015
o similare.

Certificati

 

Caratteristiche tecniche

Materiale Al
Lunghezza (lG ) 180 mm
Sezione 50 mm2
Fissaggio [8x] Ø5,2 / [2x] Ø10,5 mm
Possibilità di fissaggio rivetti / vite
Riferimento norma CEI EN 62561-1
*) Per l’attribuzione precisa vedere il certificato di prova.

Prodotto 377015 è stato aggiunto al blocco note.

Prodotto 377015 è stato aggiunto al carrello.

Apri Web-Shop

Art. 377007 UEBB L180 B10.5 B5.2 CU

GTIN (EAN) 4013364092686, Codice doganale (EU): 85359000, Peso lordo: 107.00 g, UM: 10.00 pz.


Immagini

Maggior informazioni

Treccia di ponticellamento Esecuzione corta Cu
Treccia di ponticellamento per il collegamento di rivestimenti metallici (rivettare oppure avvitare) oppure come elemento di compensazione della dilatazione per conduttori tondi
Materiale: Cu
Lunghezza: 180 mm
Fissaggio: [8x] Ø5,2 / [2x] Ø10,5 mm
Riferimento norma: CEI EN 62561-1

Fabbricato: DEHN
Tipo: UEBB L180 B10.5 B5.2 CU
Art.: 377007
o similare.

Certificati

 

Caratteristiche tecniche

Materiale Cu
Lunghezza (lG ) 180 mm
Sezione 50 mm2
Fissaggio [8x] Ø5,2 / [2x] Ø10,5 mm
Possibilità di fissaggio rivetti / vite
Riferimento norma CEI EN 62561-1
*) Per l’attribuzione precisa vedere il certificato di prova.

Prodotto 377007 è stato aggiunto al blocco note.

Prodotto 377007 è stato aggiunto al carrello.

Apri Web-Shop

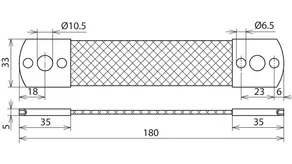
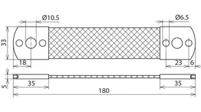
Esecuzione corta, per il fissaggio con vite autofilettante

1 Prodotto

Art. 377045 UEBB L180 B10.5 B6.5 AL

GTIN (EAN) 4013364099296, Codice doganale (EU): 85359000, Peso lordo: 37.05 g, UM: 100.00 pz.


Immagini

Maggior informazioni

Treccia di ponticellamento Esecuzione corta per il fissaggio con vite autofilettante Al
Treccia di ponticellamento per il collegamento di rivestimenti metallici (rivettare oppure avvitare) oppure come elemento di compensazione della dilatazione per conduttori tondi
Materiale: Al
Lunghezza: 180 mm
Fissaggio: [4x] Ø6,5 / [2x] Ø10,5 mm
Riferimento norma: CEI EN 62561-1

Fabbricato: DEHN
Tipo: UEBB L180 B10.5 B6.5 AL
Art.: 377045
o similare.

Certificati

 

Caratteristiche tecniche

Materiale Al
Lunghezza (lG ) 180 mm
Sezione 50 mm2
Fissaggio [4x] Ø6,5 / [2x] Ø10,5 mm
Possibilità di fissaggio vite autofilettante / vite
Riferimento norma CEI EN 62561-1
*) Per l’attribuzione precisa vedere il certificato di prova.

Prodotto 377045 è stato aggiunto al blocco note.

Prodotto 377045 è stato aggiunto al carrello.

Apri Web-Shop

Esecuzione lunga, con foro centrale

Nota: ai punti di incrocio dei conduttori possono essere collegate 2 trecce di ponticellamento con una vite M10 x 20 mm e dado.

2 Prodotti

Art. 377115 UEBB L300 3XB10.5 B5,2 AL

GTIN (EAN) 4013364092716, Codice doganale (EU): 85359000, Peso lordo: 59.00 g, UM: 10.00 pz.

Predecessore

Immagini

Maggior informazioni

Treccia di ponticellamento Esecuzione lunga con foro centrale Al
Treccia di ponticellamento per il collegamento di rivestimenti metallici (rivettare oppure avvitare) oppure come elemento di compensazione della dilatazione per conduttori tondi
Materiale: Al
Lunghezza: 300 mm
Fissaggio: [8x] Ø5,2 / [3x] Ø10,5 mm
Foro centrale: 10,5 mm
Riferimento norma: CEI EN 62561-1

Fabbricato: DEHN
Tipo: UEBB L300 3XB10.5 B5,2 AL
Art.: 377115
o similare.

Certificati

 

Caratteristiche tecniche

Materiale Al
Lunghezza (lG ) 300 mm
Sezione 50 mm2
Fissaggio [8x] Ø5,2 / [3x] Ø10,5 mm
Foro centrale 10,5 mm
Possibilità di fissaggio rivetti / viti
Riferimento norma CEI EN 62561-1
*) Per l’attribuzione precisa vedere il certificato di prova.

Prodotto 377115 è stato aggiunto al blocco note.

Prodotto 377115 è stato aggiunto al carrello.

Apri Web-Shop

Art. 377107 UEBB L300 3XB10.5 B5.2 CU

GTIN (EAN) 4013364092709, Codice doganale (EU): 85359000, Peso lordo: 172.00 g, UM: 10.00 pz.


Immagini

Maggior informazioni

Treccia di ponticellamento Esecuzione lunga con foro centrale Cu
Treccia di ponticellamento per il collegamento di rivestimenti metallici (rivettare oppure avvitare) oppure come elemento di compensazione della dilatazione per conduttori tondi
Materiale: Cu
Lunghezza: 300 mm
Fissaggio: [8x] Ø5,2 / [3x] Ø10,5 mm
Foro centrale: 10,5 mm
Riferimento norma: CEI EN 62561-1

Fabbricato: DEHN
Tipo: UEBB L300 3XB10.5 B5.2 CU
Art.: 377107
o similare.

Certificati

 

Caratteristiche tecniche

Materiale Cu
Lunghezza (lG ) 300 mm
Sezione 50 mm2
Fissaggio [8x] Ø5,2 / [3x] Ø10,5 mm
Foro centrale 10,5 mm
Possibilità di fissaggio rivett i/ viti
Riferimento norma CEI EN 62561-1
*) Per l’attribuzione precisa vedere il certificato di prova.

Prodotto 377107 è stato aggiunto al blocco note.

Prodotto 377107 è stato aggiunto al carrello.

Apri Web-Shop

back to top