Corda di ponticellamento

Adatto al collegamento/ponticellamento di rivestimenti metallici o come elemento di compensazione per determinate variazioni di lunghezza dei conduttori tondi dovute alla temperatura; collegamento ad es. con connettore KS n. art. 301 019.
Per il collegamento/ponticellamento di punti fissi di messa a terra. Adatto all’equipotenzialità di protezione e di funzione.

Lunghezze configurabili outdoor

Per l’utilizzo in ambienti esterni. con conduttore stabilizzato ai raggi UV (H01N2-D)
Al momento dell’ordine, indicare la lunghezza della corda (incrementi di 50 mm)

5 Prodotti

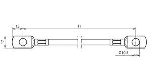
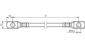
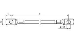
Art. 377316 UEBS 16 L... B10.5 CU SW OD

GTIN (EAN) 4013364522459, Codice doganale (EU): 85359000, Peso lordo: 411.90 g, UM: 1.00 pz.


Immagini

Maggior informazioni

Lunghezza della corda di ponticellamento variabile
Corda di ponticellamento per il collegamento
o il ponticellamento
di rivestimenti metallici.
Per l’utilizzo in ambienti esterni.
Lunghezza: 200 - 1500 mm *)
Materiale capocorda: Cu/gal (Ni)Sn
Materiale conduttore cordato: Cu
Cavo: H01N2-D
Sezione: 16 mm2
Fissaggio: [2x] Ø10,5 mm
Isolamento: PVC nero

Fabbricato: DEHN
Tipo: UEBS 16 L... B10.5 CU SW OD
Art.: 377316
o similare.

Certificati

 

Caratteristiche tecniche

Lunghezza (l1) 200 - 1500 mm *)
Materiale capocorda Cu /gal (Ni)Sn
Materiale conduttore cordato Cu
Cavo H01N2-D
Sezione 16 mm2
Fissaggio [2x] Ø10,5 mm
Avvertenza Per l’utilizzo in ambienti esterni.
Isolamento PVC nero
Riferimento norma CEI EN 62561-1
*) Al momento dell’ordine, indicare la lunghezza della corda (incrementi di 50 mm)

Prodotto 377316 è stato aggiunto al blocco note.

Prodotto 377316 è stato aggiunto al carrello.

Apri Web-Shop

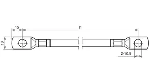
Art. 377325 UEBS 25 L... B10.5 CU SW OD

GTIN (EAN) 4013364522466, Codice doganale (EU): 85359000, Peso lordo: 558.80 g, UM: 1.00 pz.


Immagini

Maggior informazioni

Lunghezza della corda di ponticellamento variabile
Corda di ponticellamento per il collegamento
o il ponticellamento
di rivestimenti metallici.
Per l’utilizzo in ambienti esterni.
Lunghezza: 200 - 1500 mm *)
Materiale capocorda: Cu/gal (Ni)Sn
Materiale conduttore cordato: Cu
Cavo: H01N2-D
Sezione: 25 mm2
Fissaggio: [2x] Ø10,5 mm
Isolamento: PVC nero

Fabbricato: DEHN
Tipo: UEBS 25 L... B10.5 CU SW OD
Art.: 377325
o similare.

Certificati

 

Caratteristiche tecniche

Lunghezza (l1) 200 - 1500 mm *)
Materiale capocorda Cu /gal (Ni)Sn
Materiale conduttore cordato Cu
Cavo H01N2-D
Sezione 25 mm2
Fissaggio [2x] Ø10,5 mm
Avvertenza Per l’utilizzo in ambienti esterni.
Isolamento PVC nero
Riferimento norma CEI EN 62561-1
*) Al momento dell’ordine, indicare la lunghezza della corda (incrementi di 50 mm)

Prodotto 377325 è stato aggiunto al blocco note.

Prodotto 377325 è stato aggiunto al carrello.

Apri Web-Shop

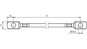
Art. 377335 UEBS 35 L... B10.5 CU SW OD

GTIN (EAN) 4013364522473, Codice doganale (EU): 85359000, Peso lordo: 937.30 g, UM: 1.00 pz.


Immagini

Maggior informazioni

Lunghezza della corda di ponticellamento variabile
Corda di ponticellamento per il collegamento
o il ponticellamento
di rivestimenti metallici.
Per l’utilizzo in ambienti esterni.
Lunghezza: 200 - 1500 mm *)
Materiale capocorda: Cu/gal (Ni)Sn
Materiale conduttore cordato: Cu
Cavo: H01N2-D
Sezione: 35 mm2
Fissaggio: [2x] Ø10,5 mm
Isolamento: PVC nero

Fabbricato: DEHN
Tipo: UEBS 35 L... B10.5 CU SW OD
Art.: 377335
o similare.

Certificati

 

Caratteristiche tecniche

Lunghezza (l1) 200 - 1500 mm *)
Materiale capocorda Cu /gal (Ni)Sn
Materiale conduttore cordato Cu
Cavo H01N2-D
Sezione 35 mm2
Fissaggio [2x] Ø10,5 mm
Avvertenza Per l’utilizzo in ambienti esterni
Isolamento PVC nero
Riferimento norma CEI EN 62561-1
*) Al momento dell’ordine, indicare la lunghezza della corda (incrementi di 50 mm)

Prodotto 377335 è stato aggiunto al blocco note.

Prodotto 377335 è stato aggiunto al carrello.

Apri Web-Shop

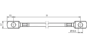
Art. 377350 UEBS 50 L... B10.5 CU SW OD

GTIN (EAN) 4013364522480, Codice doganale (EU): 85359000, Peso lordo: 1.02 kg, UM: 1.00 pz.


Immagini

Maggior informazioni

Lunghezza della corda di ponticellamento variabile
Corda di ponticellamento per il collegamento
o il ponticellamento
di rivestimenti metallici.
Per l’utilizzo in ambienti esterni.
Lunghezza: 350 - 1500 mm *)
Materiale capocorda: Cu/gal (Ni)Sn
Materiale conduttore cordato: Cu
Cavo: H01N2-D
Sezione: 50 mm2
Fissaggio: [2x] Ø10,5 mm
Isolamento: PVC nero

Fabbricato: DEHN
Tipo: UEBS 50 L... B10.5 CU SW OD
Art.: 377350
o similare.

Certificati

 

Caratteristiche tecniche

Lunghezza (l1) 350 - 1500 mm *)
Materiale capocorda Cu /gal (Ni)Sn
Materiale conduttore cordato Cu
Cavo H01N2-D
Sezione 50 mm2
Fissaggio [2x] Ø10,5 mm
Avvertenza Per l’utilizzo in ambienti esterni.
Isolamento PVC nero
Riferimento norma CEI EN 62561-1
*) Al momento dell’ordine, indicare la lunghezza della corda (incrementi di 50 mm)

Prodotto 377350 è stato aggiunto al blocco note.

Prodotto 377350 è stato aggiunto al carrello.

Apri Web-Shop

Art. 377370 UEBS 70 L... B10.5 CU SW OD

GTIN (EAN) 4013364522497, Codice doganale (EU): 85359000, Peso lordo: 1.40 kg, UM: 1.00 pz.


Immagini

Maggior informazioni

Lunghezza della corda di ponticellamento variabile
Corda di ponticellamento per il collegamento
o il ponticellamento
di rivestimenti metallici.
Per l’utilizzo in ambienti esterni.
Lunghezza: 350 - 1500 mm *)
Materiale capocorda: Cu/gal (Ni)Sn
Materiale conduttore cordato: Cu
Cavo: H01N2-D
Sezione: 70 mm2
Fissaggio: [2x] Ø10,5 mm
Isolamento: PVC nero

Fabbricato: DEHN
Tipo: UEBS 70 L... B10.5 CU SW OD
Art.: 377370
o similare.

Certificati

 

Caratteristiche tecniche

Lunghezza (l1) 350 - 1500 mm *)
Materiale capocorda Cu /gal (Ni)Sn
Materiale conduttore cordato Cu
Cavo H01N2-D
Sezione 70 mm2
Fissaggio [2x] Ø10,5 mm
Avvertenza Per l’utilizzo in ambienti esterni.
Isolamento PVC nero
Riferimento norma CEI EN 62561-1
*) Al momento dell’ordine, indicare la lunghezza della corda (incrementi di 50 mm)

Prodotto 377370 è stato aggiunto al blocco note.

Prodotto 377370 è stato aggiunto al carrello.

Apri Web-Shop

Lunghezze configurabili indoor

Per l’utilizzo in ambienti interni (H07V-K).
Al momento dell’ordine, indicare la lunghezza della corda (incrementi di 50 mm).

10 Prodotti

Art. 377216 UEBS 16 L... B10.5 CU SW ID

GTIN (EAN) 4013364494565, Codice doganale (EU): 85359000, Peso lordo: 411.90 g, UM: 1.00 pz.


Immagini

Maggior informazioni

Lunghezza della corda di ponticellamento variabile
Corda di ponticellamento per il collegamento
o il ponticellamento
di rivestimenti metallici.
Per l’utilizzo in ambienti interni.
Lunghezza: 200 - 1500 mm *)
Materiale capocorda: Cu/gal (Ni)Sn
Materiale conduttore cordato: Cu
Cavo: H07V-K
Sezione: 16 mm2
Fissaggio: [2x] Ø10,5 mm
Isolamento: PVC nero

Fabbricato: DEHN
Tipo: UEBS 16 L... B10.5 CU SW ID
Art.: 377216
o similare.

Certificati

 

Caratteristiche tecniche

Lunghezza (l1) 200 - 1500 mm *)
Materiale capocorda Cu /gal (Ni)Sn
Materiale conduttore cordato Cu
Cavo H07V-K
Sezione 16 mm2
Fissaggio [2x] Ø10,5 mm
Avvertenza Per l’utilizzo in ambienti interni
Isolamento PVC nero
Riferimento norma CEI EN 62561-1
*) Al momento dell’ordine, indicare la lunghezza della corda (incrementi di 50 mm)

Prodotto 377216 è stato aggiunto al blocco note.

Prodotto 377216 è stato aggiunto al carrello.

Apri Web-Shop

Art. 377217 UEBS 16 L... B10.5 CU GNGE ID

GTIN (EAN) 4013364494572, Codice doganale (EU): 85359000, Peso lordo: 411.90 g, UM: 1.00 pz.


Immagini

Maggior informazioni

Lunghezza della corda di ponticellamento variabile
Corda di ponticellamento per il collegamento
o il ponticellamento
di rivestimenti metallici.
Per l’utilizzo in ambienti interni.
Lunghezza: 200 - 1500 mm *)
Materiale capocorda: Cu/gal (Ni)Sn
Materiale conduttore cordato: Cu
Cavo: H07V-K
Sezione: 16 mm2
Fissaggio: [2x] Ø10,5 mm
Isolamento: PVC giallo-verde

Fabbricato: DEHN
Tipo: UEBS 16 L... B10.5 CU GNGE ID
Art.: 377217
o similare.

Certificati

 

Caratteristiche tecniche

Lunghezza (l1) 200 - 1500 mm *)
Materiale capocorda Cu /gal (Ni)Sn
Materiale conduttore cordato Cu
Cavo H07V-K
Sezione 16 mm2
Fissaggio [2x] Ø10,5 mm
Avvertenza Per l’utilizzo in ambienti interni
Isolamento PVC giallo-verde
Riferimento norma CEI EN 62561-1
*) Al momento dell’ordine, indicare la lunghezza della corda (incrementi di 50 mm)

Prodotto 377217 è stato aggiunto al blocco note.

Prodotto 377217 è stato aggiunto al carrello.

Apri Web-Shop

Art. 377225 UEBS 25 L... B10.5 CU SW ID

GTIN (EAN) 4013364494589, Codice doganale (EU): 85359000, Peso lordo: 558.80 g, UM: 1.00 pz.


Immagini

Maggior informazioni

Lunghezza della corda di ponticellamento variabile
Corda di ponticellamento per il collegamento
o il ponticellamento
di rivestimenti metallici.
Per l’utilizzo in ambienti interni.
Lunghezza: 200 - 1500 mm *)
Materiale capocorda: Cu/gal (Ni)Sn
Materiale conduttore cordato: Cu
Cavo: H07V-K
Sezione: 25 mm2
Fissaggio: [2x] Ø10,5 mm
Isolamento: PVC nero

Fabbricato: DEHN
Tipo: UEBS 25 L... B10.5 CU SW ID
Art.: 377225
o similare.

Certificati

 

Caratteristiche tecniche

Lunghezza (l1) 200 - 1500 mm *)
Materiale capocorda Cu /gal (Ni)Sn
Materiale conduttore cordato Cu
Cavo H07V-K
Sezione 25 mm2
Fissaggio [2x] Ø10,5 mm
Avvertenza Per l’utilizzo in ambienti interni
Isolamento PVC nero
Riferimento norma CEI EN 62561-1
*) Al momento dell’ordine, indicare la lunghezza della corda (incrementi di 50 mm)

Prodotto 377225 è stato aggiunto al blocco note.

Prodotto 377225 è stato aggiunto al carrello.

Apri Web-Shop

Art. 377226 UEBS 25 L... B10.5 CU GNGE ID

GTIN (EAN) 4013364494596, Codice doganale (EU): 85359000, Peso lordo: 558.80 g, UM: 1.00 pz.


Immagini

Maggior informazioni

Lunghezza della corda di ponticellamento variabile
Corda di ponticellamento per il collegamento
o il ponticellamento
di rivestimenti metallici.
Per l’utilizzo in ambienti interni.
Lunghezza: 200 - 1500 mm *)
Materiale capocorda: Cu/gal (Ni)Sn
Materiale conduttore cordato: Cu
Cavo: H07V-K
Sezione: 25 mm2
Fissaggio: [2x] Ø10,5 mm
Isolamento: PVC giallo-verde

Fabbricato: DEHN
Tipo: UEBS 25 L... B10.5 CU GNGE ID
Art.: 377226
o similare.

Certificati

 

Caratteristiche tecniche

Lunghezza (l1) 200 - 1500 mm *)
Materiale capocorda Cu /gal (Ni)Sn
Materiale conduttore cordato Cu
Cavo H07V-K
Sezione 25 mm2
Fissaggio [2x] Ø10,5 mm
Avvertenza Per l’utilizzo in ambienti interni
Isolamento PVC giallo-verde
Riferimento norma CEI EN 62561-1
*) Al momento dell’ordine, indicare la lunghezza della corda (incrementi di 50 mm)

Prodotto 377226 è stato aggiunto al blocco note.

Prodotto 377226 è stato aggiunto al carrello.

Apri Web-Shop

Art. 377235 UEBS 35 L... B10.5 CU SW ID

GTIN (EAN) 4013364494602, Codice doganale (EU): 85359000, Peso lordo: 937.30 g, UM: 1.00 pz.


Immagini

Maggior informazioni

Lunghezza della corda di ponticellamento variabile
Corda di ponticellamento per il collegamento
o il ponticellamento
di rivestimenti metallici.
Per l’utilizzo in ambienti interni.
Lunghezza: 200 - 1500 mm *)
Materiale capocorda: Cu/gal (Ni)Sn
Materiale conduttore cordato: Cu
Cavo: H07V-K
Sezione: 35 mm2
Fissaggio: [2x] Ø10,5 mm
Isolamento: PVC nero

Fabbricato: DEHN
Tipo: UEBS 35 L... B10.5 CU SW ID
Art.: 377235
o similare.

Certificati

 

Caratteristiche tecniche

Lunghezza (l1) 200 - 1500 mm *)
Materiale capocorda Cu /gal (Ni)Sn
Materiale conduttore cordato Cu
Cavo H07V-K
Sezione 35 mm2
Fissaggio [2x] Ø10,5 mm
Avvertenza Per l’utilizzo in ambienti interni
Isolamento PVC nero
Riferimento norma CEI EN 62561-1
*) Al momento dell’ordine, indicare la lunghezza della corda (incrementi di 50 mm)

Prodotto 377235 è stato aggiunto al blocco note.

Prodotto 377235 è stato aggiunto al carrello.

Apri Web-Shop

Art. 377236 UEBS 35 L... B10.5 CU GNGE ID

GTIN (EAN) 4013364494619, Codice doganale (EU): 85359000, Peso lordo: 937.30 g, UM: 1.00 pz.


Immagini

Maggior informazioni

Lunghezza della corda di ponticellamento variabile
Corda di ponticellamento per il collegamento
o il ponticellamento
di rivestimenti metallici.
Per l’utilizzo in ambienti interni.
Lunghezza: 200 - 1500 mm *)
Materiale capocorda: Cu/gal (Ni)Sn
Materiale conduttore cordato: Cu
Cavo: H07V-K
Sezione: 35 mm2
Fissaggio: [2x] Ø10,5 mm
Isolamento: PVC giallo-verde

Fabbricato: DEHN
Tipo: UEBS 35 L... B10.5 CU GNGE ID
Art.: 377236
o similare.

Certificati

 

Caratteristiche tecniche

Lunghezza (l1) 200 - 1500 mm *)
Materiale capocorda Cu /gal (Ni)Sn
Materiale conduttore cordato Cu
Cavo H07V-K
Sezione 35 mm2
Fissaggio [2x] Ø10,5 mm
Avvertenza Per l’utilizzo in ambienti interni
Isolamento PVC giallo-verde
Riferimento norma CEI EN 62561-1
*) Al momento dell’ordine, indicare la lunghezza della corda (incrementi di 50 mm)

Prodotto 377236 è stato aggiunto al blocco note.

Prodotto 377236 è stato aggiunto al carrello.

Apri Web-Shop

Art. 377250 UEBS 50 L... B10.5 CU SW ID

GTIN (EAN) 4013364494725, Codice doganale (EU): 85359000, Peso lordo: 1.02 kg, UM: 1.00 pz.


Immagini

Maggior informazioni

Lunghezza della corda di ponticellamento variabile
Corda di ponticellamento per il collegamento
o il ponticellamento
di rivestimenti metallici.
Per l’utilizzo in ambienti interni.
Lunghezza: 350 - 1500 mm *)
Materiale capocorda: Cu/gal (Ni)Sn
Materiale conduttore cordato: Cu
Cavo: H07V-K
Sezione: 50 mm2
Fissaggio: [2x] Ø10,5 mm
Isolamento: PVC nero

Fabbricato: DEHN
Tipo: UEBS 50 L... B10.5 CU SW ID
Art.: 377250
o similare.

Certificati

 

Caratteristiche tecniche

Lunghezza (l1) 350 - 1500 mm *)
Materiale capocorda Cu /gal (Ni)Sn
Materiale conduttore cordato Cu
Cavo H07V-K
Sezione 50 mm2
Fissaggio [2x] Ø10,5 mm
Avvertenza Per l’utilizzo in ambienti interni
Isolamento PVC nero
Riferimento norma CEI EN 62561-1
*) Al momento dell’ordine, indicare la lunghezza della corda (incrementi di 50 mm)

Prodotto 377250 è stato aggiunto al blocco note.

Prodotto 377250 è stato aggiunto al carrello.

Apri Web-Shop

Art. 377251 UEBS 50 L... B10.5 CU GNGE ID

GTIN (EAN) 4013364494732, Codice doganale (EU): 85359000, Peso lordo: 1.02 kg, UM: 1.00 pz.


Immagini

Maggior informazioni

Lunghezza della corda di ponticellamento variabile
Corda di ponticellamento per il collegamento
o il ponticellamento
di rivestimenti metallici.
Per l’utilizzo in ambienti interni.
Lunghezza: 350 - 1500 mm *)
Materiale capocorda: Cu/gal (Ni)Sn
Materiale conduttore cordato: Cu
Cavo: H07V-K
Sezione: 50 mm2
Fissaggio: [2x] Ø10,5 mm
Isolamento: PVC giallo-verde

Fabbricato: DEHN
Tipo: UEBS 50 L... B10.5 CU GNGE ID
Art.: 377251
o similare.

Certificati

 

Caratteristiche tecniche

Lunghezza (l1) 350 - 1500 mm *)
Materiale capocorda Cu /gal (Ni)Sn
Materiale conduttore cordato Cu
Cavo H07V-K
Sezione 50 mm2
Fissaggio [2x] Ø10,5 mm
Avvertenza Per l’utilizzo in ambienti interni
Isolamento PVC giallo-verde
Riferimento norma CEI EN 62561-1
*) Al momento dell’ordine, indicare la lunghezza della corda (incrementi di 50 mm)

Prodotto 377251 è stato aggiunto al blocco note.

Prodotto 377251 è stato aggiunto al carrello.

Apri Web-Shop

Art. 377270 UEBS 70 L... B10.5 CU SW ID

GTIN (EAN) 4013364494749, Codice doganale (EU): 85359000, Peso lordo: 1.40 kg, UM: 1.00 pz.


Immagini

Maggior informazioni

Lunghezza della corda di ponticellamento variabile
Corda di ponticellamento per il collegamento
o il ponticellamento
di rivestimenti metallici.
Per l’utilizzo in ambienti interni.
Lunghezza: 350 - 1500 mm *)
Materiale capocorda: Cu/gal (Ni)Sn
Materiale conduttore cordato: Cu
Cavo: H07V-K
Sezione: 70 mm2
Fissaggio: [2x] Ø10,5 mm
Isolamento: PVC nero

Fabbricato: DEHN
Tipo: UEBS 70 L... B10.5 CU SW ID
Art.: 377270
o similare.

Certificati

 

Caratteristiche tecniche

Lunghezza (l1) 350 - 1500 mm *)
Materiale capocorda Cu /gal (Ni)Sn
Materiale conduttore cordato Cu
Cavo H07V-K
Sezione 70 mm2
Fissaggio [2x] Ø10,5 mm
Avvertenza Per l’utilizzo in ambienti interni
Isolamento PVC nero
Riferimento norma CEI EN 62561-1
*) Al momento dell’ordine, indicare la lunghezza della corda (incrementi di 50 mm)

Prodotto 377270 è stato aggiunto al blocco note.

Prodotto 377270 è stato aggiunto al carrello.

Apri Web-Shop

Art. 377271 UEBS 70 L... B10.5 CU GNGE ID

GTIN (EAN) 4013364494756, Codice doganale (EU): 85359000, Peso lordo: 1.40 kg, UM: 1.00 pz.


Immagini

Maggior informazioni

Lunghezza della corda di ponticellamento variabile
Corda di ponticellamento per il collegamento
o il ponticellamento
di rivestimenti metallici.
Per l’utilizzo in ambienti interni.
Lunghezza: 350 - 1500 mm *)
Materiale capocorda: Cu/gal (Ni)Sn
Materiale conduttore cordato: Cu
Cavo: H07V-K
Sezione: 70 mm2
Fissaggio: [2x] Ø10,5 mm
Isolamento: PVC giallo-verde

Fabbricato: DEHN
Tipo: UEBS 70 L... B10.5 CU GNGE ID
Art.: 377271
o similare.

Certificati

 

Caratteristiche tecniche

Lunghezza (l1) 350 - 1500 mm *)
Materiale capocorda Cu /gal (Ni)Sn
Materiale conduttore cordato Cu
Cavo H07V-K
Sezione 70 mm2
Fissaggio [2x] Ø10,5 mm
Avvertenza Per l’utilizzo in ambienti interni
Isolamento PVC giallo-verde
Riferimento norma CEI EN 62561-1
*) Al momento dell’ordine, indicare la lunghezza della corda (incrementi di 50 mm)

Prodotto 377271 è stato aggiunto al blocco note.

Prodotto 377271 è stato aggiunto al carrello.

Apri Web-Shop

Lunghezze standard

Adatto all’utilizzo all’esterno

4 Prodotti

Art. 377210 UEBS 16 L200 B10.5 B6.5 AL CU

GTIN (EAN) 4013364083028, Codice doganale (EU): 85359000, Peso lordo: 53.01 g, UM: 10.00 pz.

Predecessore

Immagini

Maggior informazioni

Corda di ponticellamento lunghezza 200 mm
Corda di ponticellamento per il collegamento
o il ponticellamento
di rivestimenti metallici.
Adatta all’utilizzo
all’esterno.
Lunghezza: 200 mm
Materiale capocorda: Al
Materiale conduttore cordato: Cu
Sezione: 16 mm2
Fissaggio: [4x] Ø6,5 / [2x] Ø10,5 mm
Isolamento: gomma EM5 nero

Fabbricato: DEHN
Tipo: UEBS 16 L200 B10.5 B6.5 AL CU
Art.: 377210
o similare.

Certificati

 

Caratteristiche tecniche

Lunghezza (l1) 200 mm
Materiale capocorda Al
Materiale conduttore cordato Cu
Sezione 16 mm2
Fissaggio [4x] Ø6,5 / [2x] Ø10,5 mm
Avvertenza Adatto all’utilizzo all’esterno. secondo la norma CEI EN 62305-3 parte 1, per il collegamento in caso di spessori del materiale ≥ 0,5 mm si devono utilizzare 2 rivetti Ø 6 mm oppure, in caso di spessori del materiale ≥ 2 mm, 2 viti autofilettanti Ø 6,3 mm in acciaio inox (su entrambi i lati)
Isolamento gomma EM5 nero
Riferimento norma CEI EN 62561-1
*) Per l’attribuzione precisa vedere il certificato di prova.

Prodotto 377210 è stato aggiunto al blocco note.

Prodotto 377210 è stato aggiunto al carrello.

Apri Web-Shop

Art. 377310 UEBS 16 L300 B10.5 B6.5 AL CU

GTIN (EAN) 4013364033382, Codice doganale (EU): 85359000, Peso lordo: 88.50 g, UM: 10.00 pz.

Predecessore

Immagini

Maggior informazioni

Corda di ponticellamento lunghezza 300 mm
Corda di ponticellamento per il collegamento
o il ponticellamento
di rivestimenti metallici.
Adatta all’utilizzo
all’esterno.
Lunghezza: 300 mm
Materiale capocorda: Al
Materiale conduttore cordato: Cu
Sezione: 16 mm2
Fissaggio: [4x] Ø6,5 / [2x] Ø10,5 mm
Isolamento: gomma EM5 nero

Fabbricato: DEHN
Tipo: UEBS 16 L300 B10.5 B6.5 AL CU
Art.: 377310
o similare.

Certificati

 

Caratteristiche tecniche

Lunghezza (l1) 300 mm
Materiale capocorda Al
Materiale conduttore cordato Cu
Sezione 16 mm2
Fissaggio [4x] Ø6,5 / [2x] Ø10,5 mm
Avvertenza Adatto all’utilizzo all’esterno. Secondo la norma CEI EN 62305-3 allegato 1, per il collegamento in caso di spessori del materiale ≥ 0,5 mm si devono utilizzare 2 rivetti Ø 6 mm oppure, in caso di spessori del materiale ≥ 2 mm, 2 viti autofilettanti Ø 6,3 mm in acciaio inox (su entrambi i lati)
Isolamento gomma EM5 nero
Riferimento norma CEI EN 62561-1
*) Per l’attribuzione precisa vedere il certificato di prova.

Prodotto 377310 è stato aggiunto al blocco note.

Prodotto 377310 è stato aggiunto al carrello.

Apri Web-Shop

Art. 377410 UEBS 16 L400 B10.5 B6.5 AL CU

GTIN (EAN) 4013364083035, Codice doganale (EU): 85359000, Peso lordo: 90.40 g, UM: 10.00 pz.

Predecessore

Immagini

Maggior informazioni

Corda di ponticellamento lunghezza 400 mm
Corda di ponticellamento per il collegamento
o il ponticellamento
di rivestimenti metallici.
Adatta all’utilizzo
all’esterno.
Lunghezza: 400 mm
Materiale capocorda: Al
Materiale conduttore cordato: Cu
Sezione: 16 mm2
Fissaggio: [4x] Ø6,5 / [2x] Ø10,5 mm
Isolamento: gomma EM5 nero

Fabbricato: DEHN
Tipo: UEBS 16 L400 B10.5 B6.5 AL CU
Art.: 377410
o similare.

Certificati

 

Caratteristiche tecniche

Lunghezza (l1) 400 mm
Materiale capocorda Al
Materiale conduttore cordato Cu
Sezione 16 mm2
Fissaggio [4x] Ø6,5 / [2x] Ø10,5 mm
Avvertenza Adatto all’utilizzo all’esterno. Secondo la norma CEI EN 62305-3 allegato 1, per il collegamento in caso di spessori del materiale ≥ 0,5 mm si devono utilizzare 2 rivetti Ø 6 mm oppure, in caso di spessori del materiale ≥ 2 mm, 2 viti autofilettanti Ø 6,3 mm in acciaio inox (su entrambi i lati)
Isolamento gomma EM5 nero
Riferimento norma CEI EN 62561-1
*) Per l’attribuzione precisa vedere il certificato di prova.

Prodotto 377410 è stato aggiunto al blocco note.

Prodotto 377410 è stato aggiunto al carrello.

Apri Web-Shop

Art. 377510 UEBS 16 L500 B10.5 B6.5 AL CU

GTIN (EAN) 4013364033399, Codice doganale (EU): 85359000, Peso lordo: 110.00 g, UM: 10.00 pz.

Predecessore

Immagini

Maggior informazioni

Corda di ponticellamento lunghezza 500 mm
Corda di ponticellamento per il collegamento
o il ponticellamento
di rivestimenti metallici.
Adatta all’utilizzo
all’esterno.
Lunghezza: 500 mm
Materiale capocorda: Al
Materiale conduttore cordato: Cu
Sezione: 16 mm2
Fissaggio: [4x] Ø6,5 / [2x] Ø10,5 mm
Isolamento: gomma EM5 nero

Fabbricato: DEHN
Tipo: UEBS 16 L500 B10.5 B6.5 AL CU
Art.: 377510
o similare.

Certificati

 

Caratteristiche tecniche

Lunghezza (l1) 500 mm
Materiale capocorda Al
Materiale conduttore cordato Cu
Sezione 16 mm2
Fissaggio [4x] Ø6,5 / [2x] Ø10,5 mm
Avvertenza Adatto all’utilizzo all’esterno. Secondo la norma CEI EN 62305-3 allegato 1, per il collegamento in caso di spessori del materiale ≥ 0,5 mm si devono utilizzare 2 rivetti Ø 6 mm oppure, in caso di spessori del materiale ≥ 2 mm, 2 viti autofilettanti Ø 6,3 mm in acciaio inox (su entrambi i lati)
Isolamento gomma EM5 nero
Riferimento norma CEI EN 62561-1
*) Per l’attribuzione precisa vedere il certificato di prova.

Prodotto 377510 è stato aggiunto al blocco note.

Prodotto 377510 è stato aggiunto al carrello.

Apri Web-Shop

back to top