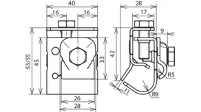
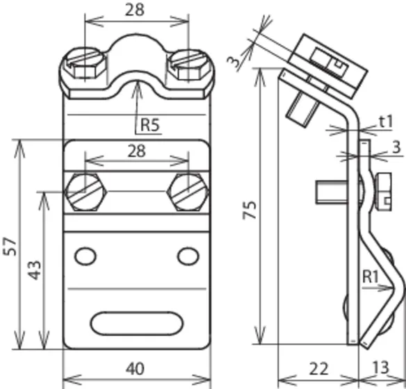
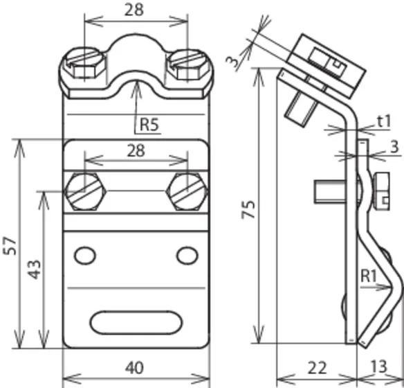
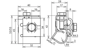
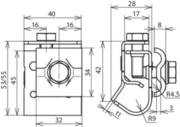
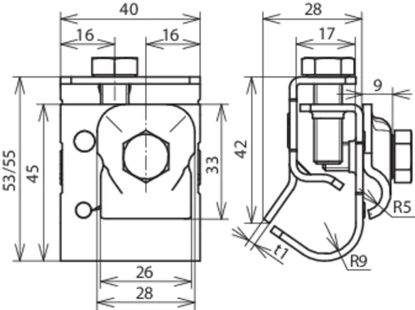
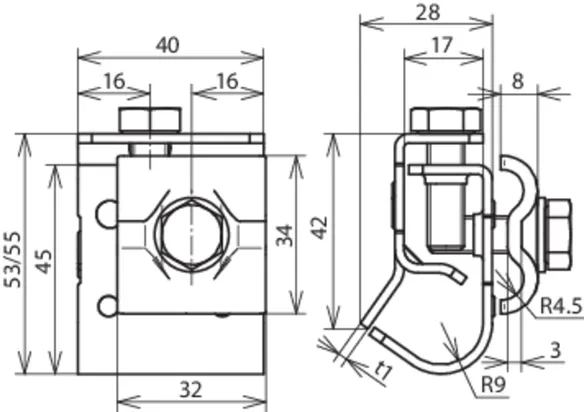
Morsetto per grondaia

Per il collegamento di conduttori con grondaie rispettivamente per il collegamento di conduttori con grondaie di materiale diverso.

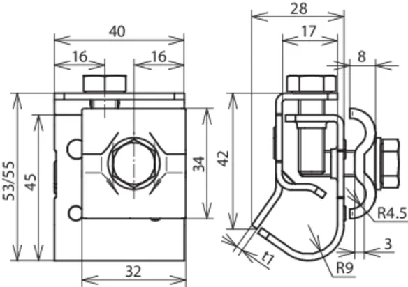
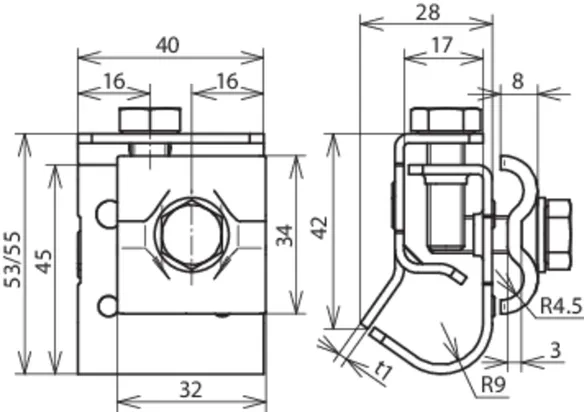
Con cavallotto di fissaggio

Collegamento longitudinale oppure trasversale.

4 Prodotti

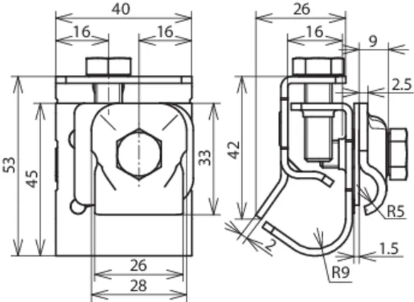
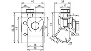
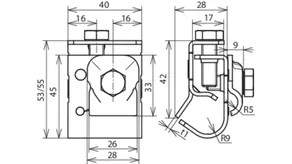
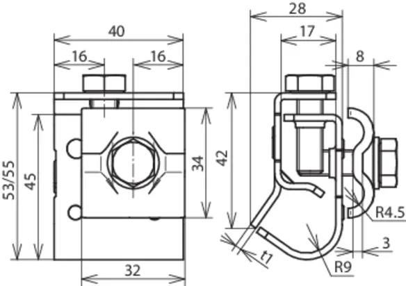
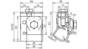
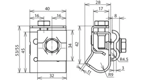
Art. 339060 DRK KB 6.10 W16.22 STTZN

GTIN (EAN) 4013364046870, Codice doganale (EU): 85359000, Peso lordo: 137.40 g, UM: 25.00 pz.


Immagini

Maggior informazioni

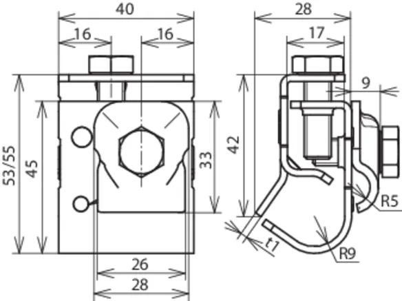
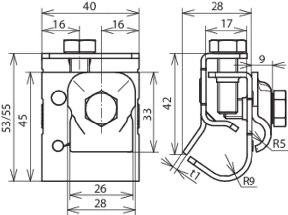
Morsetto per grondaia con cavallotto di fissaggio Fe/tZn
Morsetto per grondaia per il collegamento di conduttori con grondaie
Campo di serraggio ribordatura: 16-22 mm
Materiale morsetto: Fe/tZn
Campo di serraggio Td: 6-10 mm
Larghezza/spessore materiale: 40 / 2 mm
Riferimento norma: CEI EN 62561-1

Fabbricato: DEHN
Tipo: DRK KB 6.10 W16.22 STTZN
Art.: 339060
o similare.

Certificati

 

Caratteristiche tecniche

Campo di serraggio ribordatura 16-22 mm
Materiale morsetto Fe/tZn
Campo di serraggio Td 6-10 mm
Materiale cavallotto di fissaggio Fe/tZn
Larghezza/spessore materiale 40 / 2 mm
Materiale vite Fe/tZn
Riferimento norma CEI EN 62561-1
*) Per l’attribuzione precisa vedere il certificato di prova.

Prodotto 339060 è stato aggiunto al blocco note.

Prodotto 339060 è stato aggiunto al carrello.

Apri Web-Shop

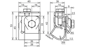
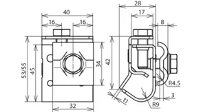
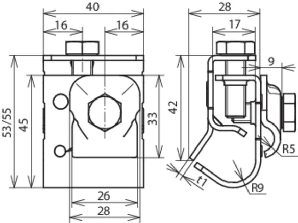
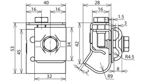
Art. 339061 DRK KB 6.10 W16.22 AL

GTIN (EAN) 4013364127395, Codice doganale (EU): 85359000, Peso lordo: 86.90 g, UM: 25.00 pz.


Immagini

Maggior informazioni

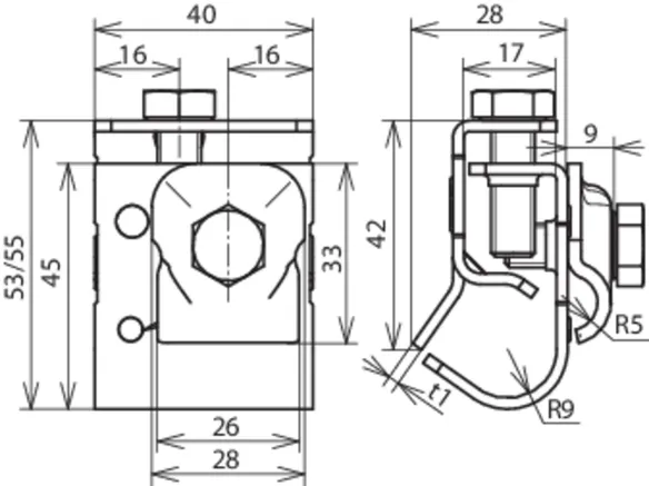
Morsetto per grondaia con cavallotto di fissaggio Al
Morsetto per grondaia per il collegamento di conduttori con grondaie
Campo di serraggio ribordatura: 16-22 mm
Materiale morsetto: Al
Campo di serraggio Td: 6-10 mm
Larghezza/spessore materiale: 40 / 3 mm
Riferimento norma: CEI EN 62561-1

Fabbricato: DEHN
Tipo: DRK KB 6.10 W16.22 AL
Art.: 339061
o similare.

 

Caratteristiche tecniche

Campo di serraggio ribordatura 16-22 mm
Materiale morsetto Al
Campo di serraggio Td 6-10 mm
Materiale cavallotto di fissaggio Al
Larghezza/spessore materiale 40 / 3 mm
Materiale vite INOX
Riferimento norma CEI EN 62561-1
*) Per l’attribuzione precisa vedere il certificato di prova.

Prodotto 339061 è stato aggiunto al blocco note.

Prodotto 339061 è stato aggiunto al carrello.

Apri Web-Shop

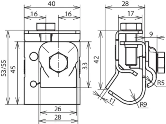
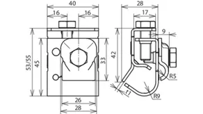
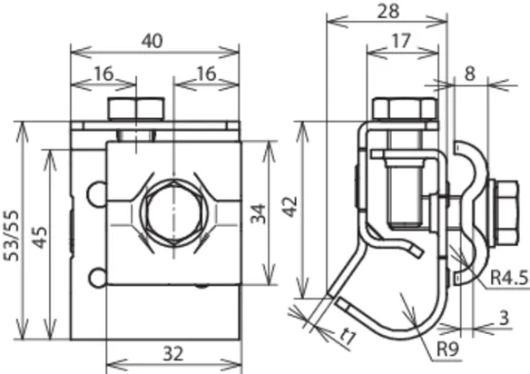
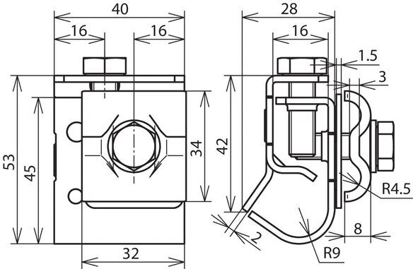
Art. 339067 DRK KB 6.10 W16.22 CU

GTIN (EAN) 4013364046887, Codice doganale (EU): 85359000, Peso lordo: 140.10 g, UM: 25.00 pz.

Predecessore

Immagini

Maggior informazioni

Morsetto per grondaia con cavallotto di fissaggio Cu
Morsetto per grondaia per il collegamento di conduttori con grondaie
Campo di serraggio ribordatura: 16-22 mm
Materiale morsetto: Cu
Campo di serraggio Td: 6-10 mm
Larghezza/spessore materiale: 40 / 2 mm
Riferimento norma: CEI EN 62561-1

Fabbricato: DEHN
Tipo: DRK KB 6.10 W16.22 CU
Art.: 339067
o similare.

Certificati

 

Caratteristiche tecniche

Campo di serraggio ribordatura 16-22 mm
Materiale morsetto Cu
Campo di serraggio Td 6-10 mm
Materiale cavallotto di fissaggio Cu
Larghezza/spessore materiale 40 / 2 mm
Materiale vite INOX
Riferimento norma CEI EN 62561-1
*) Per l’attribuzione precisa vedere il certificato di prova.

Prodotto 339067 è stato aggiunto al blocco note.

Prodotto 339067 è stato aggiunto al carrello.

Apri Web-Shop

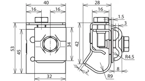
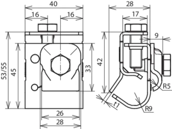
Art. 339069 DRK KB 6.10 W16.22 V2A

GTIN (EAN) 4013364079960, Codice doganale (EU): 85359000, Peso lordo: 126.00 g, UM: 25.00 pz.

Predecessore

Immagini

Maggior informazioni

Morsetto per grondaia con cavallotto di fissaggio INOX
Morsetto per grondaia per il collegamento di conduttori con grondaie
Campo di serraggio ribordatura: 16-22 mm
Materiale morsetto: INOX
Campo di serraggio Td: 6-10 mm
Larghezza/spessore materiale: 40 / 2 mm
Riferimento norma: CEI EN 62561-1

Fabbricato: DEHN
Tipo: DRK KB 6.10 W16.22 V2A
Art.: 339069
o similare.

Certificati

 

Caratteristiche tecniche

Campo di serraggio ribordatura 16-22 mm
Materiale morsetto INOX
Campo di serraggio Td 6-10 mm
Materiale cavallotto di fissaggio INOX
Larghezza/spessore materiale 40 / 2 mm
Materiale vite INOX
Riferimento norma CEI EN 62561-1
*) Per l’attribuzione precisa vedere il certificato di prova.

Prodotto 339069 è stato aggiunto al blocco note.

Prodotto 339069 è stato aggiunto al carrello.

Apri Web-Shop

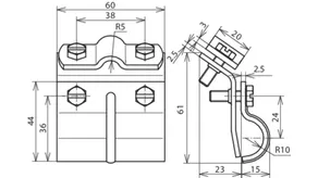
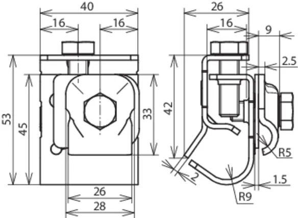
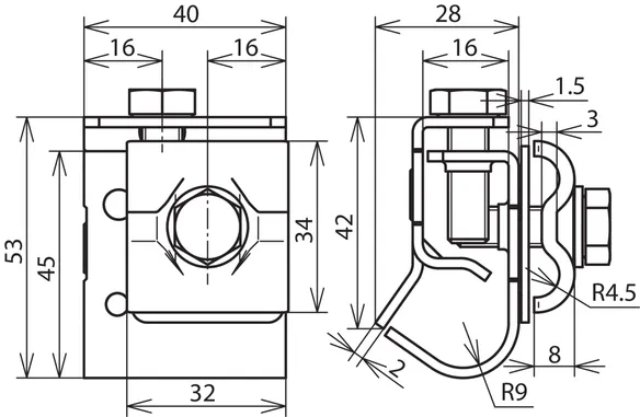
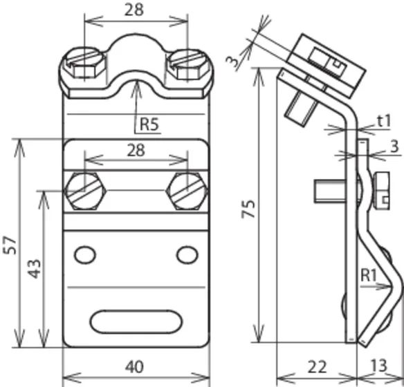
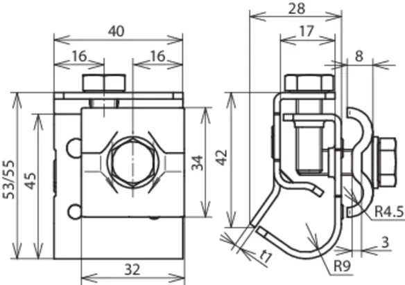
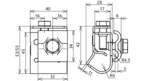
Con cavallotto doppio di fissaggio

Collegamento longitudinale e trasversale.

4 Prodotti

Art. 339050 DRK DUL 8.10 W16.22 STTZN

GTIN (EAN) 4013364096257, Codice doganale (EU): 85359000, Peso lordo: 142.00 g, UM: 25.00 pz.


Immagini

Maggior informazioni

Morsetto per grondaia con cavallotto doppio di fissaggio Fe/tZn
Morsetto per grondaia per il collegamento di conduttori con grondaie
Campo di serraggio ribordatura: 16-22 mm
Materiale morsetto: Fe/tZn
Campo di serraggio Td: 8-10 mm
Larghezza/spessore materiale: 40 / 2 mm
Riferimento norma: CEI EN 62561-1

Fabbricato: DEHN
Tipo: DRK DUL 8.10 W16.22 STTZN
Art.: 339050
o similare.

Certificati

 

Caratteristiche tecniche

Campo di serraggio ribordatura 16-22 mm
Materiale morsetto Fe/tZn
Campo di serraggio Td 8-10 mm
Materiale cavallotto di fissaggio Fe/tZn
Larghezza/spessore materiale 40 / 2 mm
Materiale vite Fe/tZn
Riferimento norma CEI EN 62561-1
*) Per l’attribuzione precisa vedere il certificato di prova.

Prodotto 339050 è stato aggiunto al blocco note.

Prodotto 339050 è stato aggiunto al carrello.

Apri Web-Shop

Art. 339051 DRK DUL 8.10 W16.22 AL

GTIN (EAN) 4013364127388, Codice doganale (EU): 85359000, Peso lordo: 98.70 g, UM: 25.00 pz.


Immagini

Maggior informazioni

Morsetto per grondaia con cavallotto doppio di fissaggio Al
Morsetto per grondaia per il collegamento di conduttori con grondaie
Campo di serraggio ribordatura: 16-22 mm
Materiale morsetto: Al
Campo di serraggio Td: 8-10 mm
Larghezza/spessore materiale: 40 / 3 mm
Riferimento norma: CEI EN 62561-1

Fabbricato: DEHN
Tipo: DRK DUL 8.10 W16.22 AL
Art.: 339051
o similare.

 

Caratteristiche tecniche

Campo di serraggio ribordatura 16-22 mm
Materiale morsetto Al
Campo di serraggio Td 8-10 mm
Materiale cavallotto di fissaggio INOX
Larghezza/spessore materiale 40 / 3 mm
Materiale vite INOX
Riferimento norma CEI EN 62561-1
*) Per l’attribuzione precisa vedere il certificato di prova.

Prodotto 339051 è stato aggiunto al blocco note.

Prodotto 339051 è stato aggiunto al carrello.

Apri Web-Shop

Art. 339057 DRK DUL 8.10 W16.22 CU

GTIN (EAN) 4013364096332, Codice doganale (EU): 85359000, Peso lordo: 154.00 g, UM: 25.00 pz.

Predecessore

Immagini

Maggior informazioni

Morsetto per grondaia con cavallotto doppio di fissaggio Cu
Morsetto per grondaia per il collegamento di conduttori con grondaie
Campo di serraggio ribordatura: 16-22 mm
Materiale morsetto: Cu
Campo di serraggio Td: 8-10 mm
Larghezza/spessore materiale: 40 / 2 mm
Riferimento norma: CEI EN 62561-1

Fabbricato: DEHN
Tipo: DRK DUL 8.10 W16.22 CU
Art.: 339057
o similare.

Certificati

 

Caratteristiche tecniche

Campo di serraggio ribordatura 16-22 mm
Materiale morsetto Cu
Campo di serraggio Td 8-10 mm
Materiale cavallotto di fissaggio Cu
Larghezza/spessore materiale 40 / 2 mm
Materiale vite INOX
Riferimento norma CEI EN 62561-1
*) Per l’attribuzione precisa vedere il certificato di prova.

Prodotto 339057 è stato aggiunto al blocco note.

Prodotto 339057 è stato aggiunto al carrello.

Apri Web-Shop

Art. 339059 DRK DUL 8.10 W16.22 V2A

GTIN (EAN) 4013364096301, Codice doganale (EU): 85359000, Peso lordo: 136.00 g, UM: 25.00 pz.

Predecessore

Immagini

Maggior informazioni

Morsetto per grondaia con cavallotto doppio di fissaggio INOX
Morsetto per grondaia per il collegamento di conduttori con grondaie
Campo di serraggio ribordatura: 16-22 mm
Materiale morsetto: INOX
Campo di serraggio Td: 8-10 mm
Larghezza/spessore materiale: 40 / 2 mm
Riferimento norma: CEI EN 62561-1

Fabbricato: DEHN
Tipo: DRK DUL 8.10 W16.22 V2A
Art.: 339059
o similare.

Certificati

 

Caratteristiche tecniche

Campo di serraggio ribordatura 16-22 mm
Materiale morsetto INOX
Campo di serraggio Td 8-10 mm
Materiale cavallotto di fissaggio INOX
Larghezza/spessore materiale 40 / 2 mm
Materiale vite INOX
Riferimento norma CEI EN 62561-1
*) Per l’attribuzione precisa vedere il certificato di prova.

Prodotto 339059 è stato aggiunto al blocco note.

Prodotto 339059 è stato aggiunto al carrello.

Apri Web-Shop

Esecuzione bimetallica per grondaie Cu con cavallotto di fissaggio (Fe/tZn) e piastra intermedia (Cupal)

1 Prodotto

Art. 339167 ZMDRK KB 6.10 W16.22 CU STTZN

GTIN (EAN) 4013364034426, Codice doganale (EU): 85359000, Peso lordo: 144.00 g, UM: 1.00 pz.


Immagini

Maggior informazioni

Morsetto per grondaia esecuzione bimetallica
Morsetti per grondaia esecuzione bimetallica per il collegamento di conduttori con grondaie
di materiali diversi
Campo di serraggio ribordatura: 16-22 mm
Materiale morsetto: Cu / Fe/tZn
Campo di serraggio Td: 6-10 mm
Riferimento norma: CEI EN 62561-1

Fabbricato: DEHN
Tipo: ZMDRK KB 6.10 W16.22 CU STTZN
Art.: 339167
o similare.

Certificati

 

Caratteristiche tecniche

Campo di serraggio ribordatura 16-22 mm
Materiale morsetto Cu / Fe/tZn
Campo di serraggio Td 6-10 mm
Materiale vite INOX
Riferimento norma CEI EN 62561-1
*) Per l’attribuzione precisa vedere il certificato di prova.

Prodotto 339167 è stato aggiunto al blocco note.

Prodotto 339167 è stato aggiunto al carrello.

Apri Web-Shop

Esecuzione bimetallica per grondaie Cu con cavallotto doppio di fissaggio (Fe/tZn) e piastra intermedia (Cupal)

1 Prodotto

Art. 339157 ZMDRK DUL 8.10 W16.22 CU STTZN

GTIN (EAN) 4013364096325, Codice doganale (EU): 85359000, Peso lordo: 146.00 g, UM: 25.00 pz.


Immagini

Maggior informazioni

Morsetto per grondaia esecuzione bimetallica
Morsetto per grondaia esecuzione bimetallica per il collegamento di conduttori con grondaie
di materiali diversi
Campo di serraggio ribordatura: 16-22 mm
Materiale morsetto: Cu / Fe/tZn
Campo di serraggio Td: 8-10 mm
Riferimento norma: CEI EN 62561-1

Fabbricato: DEHN
Tipo: ZMDRK DUL 8.10 W16.22 CU STTZN
Art.: 339157
o similare.

Certificati

 

Caratteristiche tecniche

Campo di serraggio ribordatura 16-22 mm
Materiale morsetto Cu / Fe/tZn
Campo di serraggio Td 8-10 mm
Materiale vite INOX
Riferimento norma CEI EN 62561-1
*) Per l’attribuzione precisa vedere il certificato di prova.

Prodotto 339157 è stato aggiunto al blocco note.

Prodotto 339157 è stato aggiunto al carrello.

Apri Web-Shop

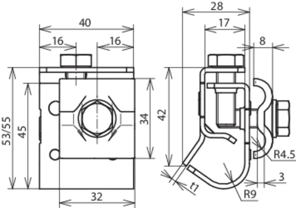
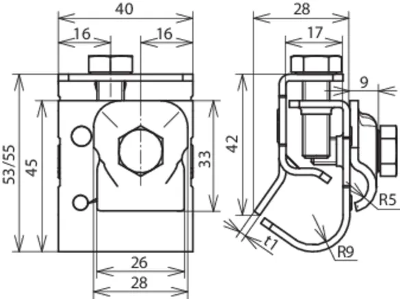
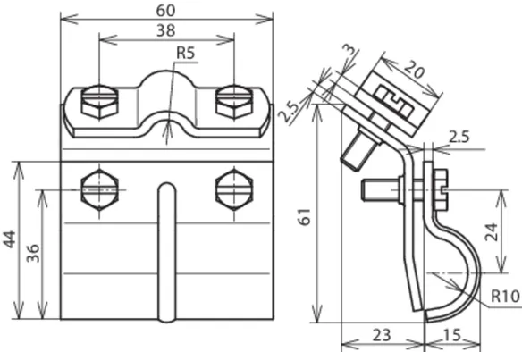
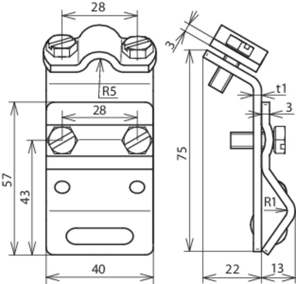
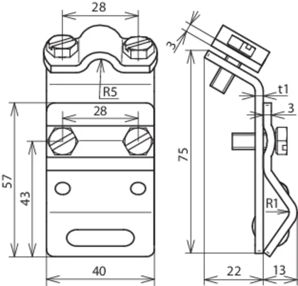
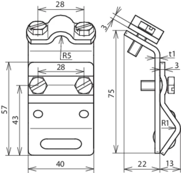
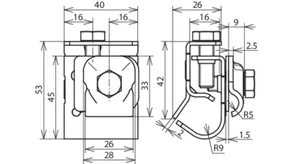
Con cavallotto di fissaggio a due viti, larghezza costruttiva 40 mm

Collegamento longitudinale.

4 Prodotti

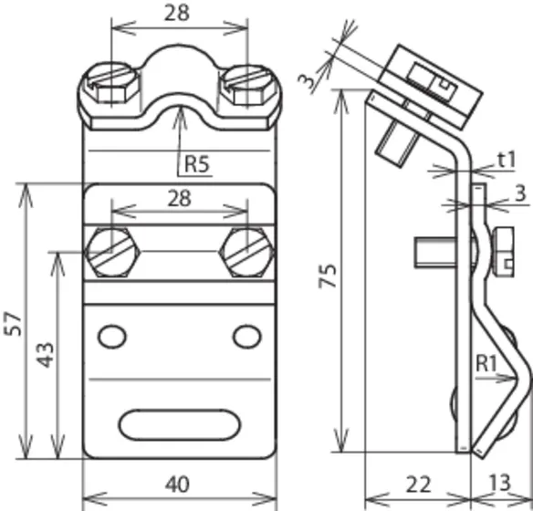
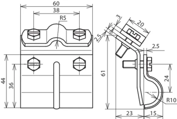
Art. 338000 DRK ZS 7.10 W13.25 STTZN

GTIN (EAN) 4013364024847, Codice doganale (EU): 85359000, Peso lordo: 175.00 g, UM: 25.00 pz.


Immagini

Maggior informazioni

Morsetto per grondaia con cavallotto di fissaggio a due viti, larghezza costruttiva 40 mm Fe/tZn
Morsetto per grondaia per il collegamento di conduttori con grondaie
Campo di serraggio ribordatura: 13-25 mm
Materiale morsetto: Fe/tZn
Campo di serraggio Td: 7-10 mm
Larghezza/spessore materiale: 40 / 3 mm
Riferimento norma: CEI EN 62561-1

Fabbricato: DEHN
Tipo: DRK ZS 7.10 W13.25 STTZN
Art.: 338000
o similare.

Certificati

 

Caratteristiche tecniche

Campo di serraggio ribordatura 13-25 mm
Materiale morsetto Fe/tZn
Campo di serraggio Td 7-10 mm
Materiale cavallotto di fissaggio Fe/tZn
Larghezza/spessore materiale 40 / 3 mm
Materiale vite INOX
Riferimento norma CEI EN 62561-1
*) Per l’attribuzione precisa vedere il certificato di prova.

Prodotto 338000 è stato aggiunto al blocco note.

Prodotto 338000 è stato aggiunto al carrello.

Apri Web-Shop

Art. 338001 DRK ZS 7.10 W13.25 AL

GTIN (EAN) 4013364054172, Codice doganale (EU): 85359000, Peso lordo: 72.50 g, UM: 25.00 pz.


Immagini

Maggior informazioni

Morsetto per grondaia con cavallotto di fissaggio a due viti, larghezza costruttiva 40 mm Al
Morsetto per grondaia per il collegamento di conduttori con grondaie
Campo di serraggio ribordatura: 13-25 mm
Materiale morsetto: Al
Campo di serraggio Td: 7-10 mm
Larghezza/spessore materiale: 40 / 3 mm
Riferimento norma: CEI EN 62561-1

Fabbricato: DEHN
Tipo: DRK ZS 7.10 W13.25 AL
Art.: 338001
o similare.

Certificati

 

Caratteristiche tecniche

Campo di serraggio ribordatura 13-25 mm
Materiale morsetto Al
Campo di serraggio Td 7-10 mm
Materiale cavallotto di fissaggio Al
Larghezza/spessore materiale 40 / 3 mm
Materiale vite INOX
Riferimento norma CEI EN 62561-1
*) Per l’attribuzione precisa vedere il certificato di prova.

Prodotto 338001 è stato aggiunto al blocco note.

Prodotto 338001 è stato aggiunto al carrello.

Apri Web-Shop

Art. 338007 DRK ZS 7.10 W13.25 CU

GTIN (EAN) 4013364024854, Codice doganale (EU): 85359000, Peso lordo: 194.00 g, UM: 25.00 pz.


Immagini

Maggior informazioni

Morsetto per grondaia con cavallotto di fissaggio a due viti, larghezza costruttiva 40 mm Cu
Morsetto per grondaia per il collegamento di conduttori con grondaie
Campo di serraggio ribordatura: 13-25 mm
Materiale morsetto: Cu
Campo di serraggio Td: 7-10 mm
Larghezza/spessore materiale: 40 / 3 mm
Riferimento norma: CEI EN 62561-1

Fabbricato: DEHN
Tipo: DRK ZS 7.10 W13.25 CU
Art.: 338007
o similare.

Certificati

 

Caratteristiche tecniche

Campo di serraggio ribordatura 13-25 mm
Materiale morsetto Cu
Campo di serraggio Td 7-10 mm
Materiale cavallotto di fissaggio Cu
Larghezza/spessore materiale 40 / 3 mm
Materiale vite INOX
Riferimento norma CEI EN 62561-1
*) Per l’attribuzione precisa vedere il certificato di prova.

Prodotto 338007 è stato aggiunto al blocco note.

Prodotto 338007 è stato aggiunto al carrello.

Apri Web-Shop

Art. 338009 DRK ZS 7.10 W13.25 V2A

GTIN (EAN) 4013364057982, Codice doganale (EU): 85359000, Peso lordo: 140.00 g, UM: 25.00 pz.


Immagini

Maggior informazioni

Morsetto per grondaia con cavallotto di fissaggio a due viti, larghezza costruttiva 40 mm INOX
Morsetto per grondaia per il collegamento di conduttori con grondaie
Campo di serraggio ribordatura: 13-25 mm
Materiale morsetto: INOX
Campo di serraggio Td: 7-10 mm
Larghezza/spessore materiale: 40 / 2,5 mm
Riferimento norma: CEI EN 62561-1

Fabbricato: DEHN
Tipo: DRK ZS 7.10 W13.25 V2A
Art.: 338009
o similare.

Certificati

 

Caratteristiche tecniche

Campo di serraggio ribordatura 13-25 mm
Materiale morsetto INOX
Campo di serraggio Td 7-10 mm
Materiale cavallotto di fissaggio INOX
Larghezza/spessore materiale 40 / 2,5 mm
Materiale vite INOX
Riferimento norma CEI EN 62561-1
*) Per l’attribuzione precisa vedere il certificato di prova.

Prodotto 338009 è stato aggiunto al blocco note.

Prodotto 338009 è stato aggiunto al carrello.

Apri Web-Shop

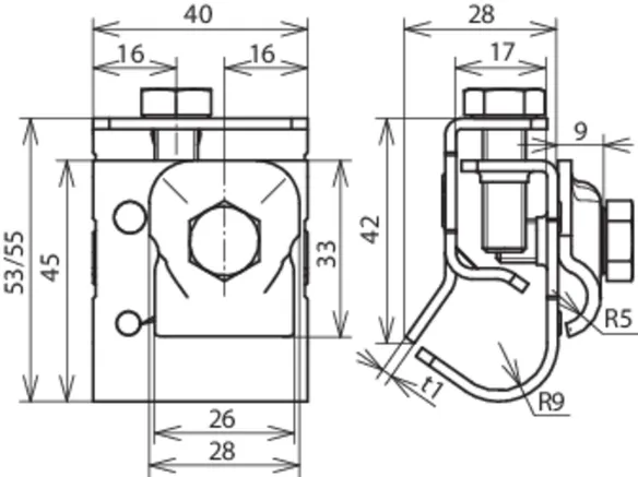
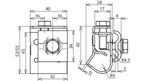
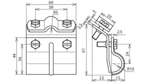
Con cavallotto di fissaggio a due viti, larghezza costruttiva 60 mm

Collegamento longitudinale.

1 Prodotto

Art. 339010 DRK ZS 7.10 W13.25 B60 STTZN

GTIN (EAN) 4013364024823, Codice doganale (EU): 85359000, Peso lordo: 199.00 g, UM: 25.00 pz.


Immagini

Maggior informazioni

Morsetto per grondaia con cavallotto di fissaggio a due viti, larghezza costruttiva 60 mm Fe/tZn
Morsetto per grondaia per il collegamento di conduttori con grondaie
Campo di serraggio ribordatura: 13-25 mm
Materiale morsetto: Fe/tZn
Campo di serraggio Td: 7-10 mm
Larghezza/spessore materiale: 60 / 2,5 mm
Riferimento norma: CEI EN 62561-1

Fabbricato: DEHN
Tipo: DRK ZS 7.10 W13.25 B60 STTZN
Art.: 339010
o similare.

Certificati

 

Caratteristiche tecniche

Campo di serraggio ribordatura 13-25 mm
Materiale morsetto Fe/tZn
Campo di serraggio Td 7-10 mm
Materiale cavallotto di fissaggio Fe/tZn
Larghezza/spessore materiale 60 / 2,5 mm
Materiale vite INOX
Riferimento norma CEI EN 62561-1
*) Per l’attribuzione precisa vedere il certificato di prova.

Prodotto 339010 è stato aggiunto al blocco note.

Prodotto 339010 è stato aggiunto al carrello.

Apri Web-Shop

back to top