Morsetto a croce per collegamenti fuori e sotto terra

Di conduttori disposti a croce, in parallelo e a "T".

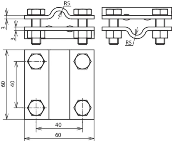
Con piastra intermedia per Td e Pt

3 Prodotti

Art. 319201 KS 8.10 8.10 FL30 ZP STTZN

GTIN (EAN) 4013364024519, Codice doganale (EU): 85359000, Peso lordo: 324.00 g, UM: 25.00 pz.


Immagini

Maggior informazioni

Morsetti a croce con piastra intermedia per conduttori a sezione tonda e a sezione piatta in Fe/tZn
Morsetti a croce per collegamenti fuori terra e
sotto terra
per il collegamento di conduttori
disposti a croce, in parallelo e a "T"
Materiale morsetto: Fe/tZn
Campo di serraggio Td/Td: 8-10 / 8-10 mm
Campo di serraggio Td/Pt: 8-10 / 30 mm
Campo di serraggio Pt/Pt: 30 / 30 mm
Materiale vite / dado: Fe/tZn
Piastra intermedia: sì
Riferimento norma: CEI EN 62561-1

Fabbricato: DEHN
Tipo: KS 8.10 8.10 FL30 ZP STTZN
Art.: 319201
o similare.

Certificati

 

Caratteristiche tecniche

Materiale morsetto Fe/tZn
Campo di serraggio Td/Td 8-10 / 8-10 mm
Campo di serraggio Td/Pt 8-10 / 30 mm
Campo di serraggio Pt/Pt 30 / 30 mm
Dimensioni 60 x 60 x 3 mm
Riferimento norma CEI EN 62561-1
Corrente di cortocircuito (AC 50 Hz / DC) (1 s; ≤ 300 °C) 14 kA
*) Per l’attribuzione precisa vedere il certificato di prova.

Prodotto 319201 è stato aggiunto al blocco note.

Prodotto 319201 è stato aggiunto al carrello.

Apri Web-Shop

Art. 319207 KS 8.10 8.10 FL30 ZP CU

GTIN (EAN) 4013364020047, Codice doganale (EU): 85359000, Peso lordo: 353.00 g, UM: 25.00 pz.


Immagini

Maggior informazioni

Morsetti a croce con piastra intermedia per conduttori a sezione tonda e a sezione piatta in rame
Morsetti a croce per collegamenti fuori terra e
sotto terra
per il collegamento di conduttori
disposti a croce, in parallelo e a "T"
Materiale morsetto: Cu
Campo di serraggio Td/Td: 8-10 / 8-10 mm
Campo di serraggio Td/Pt: 8-10 / 30 mm
Campo di serraggio Pt/Pt: 30 / 30 mm
Materiale vite / dado: INOX (AISI 316)
Materiale n.: 1.4571 / 1.4404 / 1.4401
ASTM / AISI:: 316Ti / 316L / 316
Piastra intermedia: sì
Riferimento norma: CEI EN 62561-1

Fabbricato: DEHN
Tipo: KS 8.10 8.10 FL30 ZP CU
Art.: 319207
o similare.

Certificati

 

Caratteristiche tecniche

Materiale morsetto Cu
Campo di serraggio Td/Td 8-10 / 8-10 mm
Campo di serraggio Td/Pt 8-10 / 30 mm
Campo di serraggio Pt/Pt 30 / 30 mm
Campo di serraggio (semirigido / cordato) 35-70 mm2
ASTM / AISI: 316Ti / 316L / 316
Dimensioni 60 x 60 x 3 mm
Riferimento norma CEI EN 62561-1
Corrente di cortocircuito (AC 50 Hz / DC) (1 s; ≤ 300 °C) 29 kA
*) Per l’attribuzione precisa vedere il certificato di prova.

Prodotto 319207 è stato aggiunto al blocco note.

Prodotto 319207 è stato aggiunto al carrello.

Apri Web-Shop

Art. 319209 KS 8.10 8.10 FL30 ZP V4A

GTIN (EAN) 4013364035980, Codice doganale (EU): 85359000, Peso lordo: 316.90 g, UM: 25.00 pz.


Immagini

Maggior informazioni

Morsetti a croce con piastra intermedia per conduttori a sezione tonda e a sezione piatta NIRO (V4A)
Morsetti a croce per collegamenti fuori terra e
sotto terra
per il collegamento di conduttori
disposti a croce, in parallelo e a "T"

Materiale morsetto: INOX (V4A)
Campo di serraggio Td/Td: 8-10 / 8-10 mm
Campo di serraggio Td/Pt: 8-10 / 30 mm
Campo di serraggio Pt/Pt: 30 / 30 mm
Materiale vite / dado: INOX (V4A)
Materiale n.: 1.4571 / 1.4404 / 1.4401
ASTM / AISI:: 316Ti / 316L / 316
Piastra intermedia: sì
Riferimento norma: CEI EN 62561-1

Fabbricato: DEHN
Tipo: KS 8.10 8.10 FL30 ZP V4A
Art.: 319209
o similare.

Certificati

 

Caratteristiche tecniche

Materiale morsetto INOX (V4A)
Campo di serraggio Td/Td 8-10 / 8-10 mm
Campo di serraggio Td/Pt 8-10 / 30 mm
Campo di serraggio Pt/Pt 30 / 30 mm
Campo di serraggio (semirigido / cordato) 35-70 mm2
ASTM / AISI: 316Ti / 316L / 316
Dimensioni 60 x 60 x 3 mm
Riferimento norma CEI EN 62561-1
Corrente di cortocircuito (AC 50 Hz / DC) (1 s; ≤ 300 °C) 7 kA
*) Per l’attribuzione precisa vedere il certificato di prova.

Prodotto 319209 è stato aggiunto al blocco note.

Prodotto 319209 è stato aggiunto al carrello.

Apri Web-Shop

Con piastra intermedia per Td e Pt fino a 40 mm

2 Prodotti

Art. 321045 KS 8.10 FL40 STTZN

GTIN (EAN) 4013364021518, Codice doganale (EU): 85359000, Peso lordo: 417.80 g, UM: 25.00 pz.


Immagini

Maggior informazioni

Morsetti a croce con piastra intermedia per conduttori a sezione tonda e a sezione piatta fino a 40 mm
Morsetti a croce per collegamenti fuori terra e
sotto terra
per il collegamento di conduttori
disposti a croce, in parallelo e a "T"
Materiale morsetto: Fe/tZn
Campo di serraggio Td/Pt: 8-10 / 30-40 mm
Campo di serraggio Pt/Pt: 30-40 / 30-40 mm
Materiale vite / dado: Fe/tZn
Piastra intermedia: sì
Riferimento norma: CEI EN 62561-1

Fabbricato: DEHN
Tipo: KS 8.10 FL40 STTZN
Art.: 321045
o similare.

Certificati

 

Caratteristiche tecniche

Materiale morsetto Fe/tZn
Campo di serraggio Td/Pt 8-10 / 30-40 mm
Campo di serraggio Pt/Pt 30-40 / 30-40 mm
Dimensioni 70 x 70 x 3 mm
Riferimento norma CEI EN 62561-1
Corrente di cortocircuito (AC 50 Hz / DC) (1 s; ≤ 300 °C) 12,6 kA
*) Per l’attribuzione precisa vedere il certificato di prova.

Prodotto 321045 è stato aggiunto al blocco note.

Prodotto 321045 è stato aggiunto al carrello.

Apri Web-Shop

Art. 321047 KS 8.10 FL40 CU

GTIN (EAN) 4013364021525, Codice doganale (EU): 85359000, Peso lordo: 457.80 g, UM: 25.00 pz.


Immagini

Maggior informazioni

Morsetti a croce con piastra intermedia per conduttori a sezione tonda e a sezione piatta fino a 40 mm
Morsetti a croce per collegamenti fuori terra e
sotto terra
per il collegamento di conduttori
disposti a croce, in parallelo e a "T"
Materiale morsetto: Cu
Campo di serraggio Td/Pt: 8-10 / 30-40 mm
Campo di serraggio Pt/Pt: 30-40 / 30-40 mm
Materiale vite / dado: INOX (V4A)
Materiale n.: 1.4571 / 1.4404 / 1.4401
ASTM / AISI:: 316Ti / 316L / 316
Piastra intermedia: sì
Riferimento norma: CEI EN 62561-1

Fabbricato: DEHN
Tipo: KS 8.10 FL40 CU
Art.: 321047
o similare.

Certificati

 

Caratteristiche tecniche

Materiale morsetto Cu
Campo di serraggio Td/Pt 8-10 / 30-40 mm
Campo di serraggio Pt/Pt 30-40 / 30-40 mm
Campo di serraggio (semirigido / cordato) 35-120 mm2
ASTM / AISI: 316Ti / 316L / 316
Dimensioni 70 x 70 x 3 mm
Riferimento norma CEI EN 62561-1
Corrente di cortocircuito (AC 50 Hz / DC) (1 s; ≤ 300 °C) 35,1 kA
*) Per l’attribuzione precisa vedere il certificato di prova.

Prodotto 321047 è stato aggiunto al blocco note.

Prodotto 321047 è stato aggiunto al carrello.

Apri Web-Shop

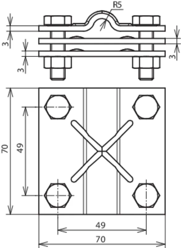
Con piastra intermedia per due Td e Pt fino a 40 mm

1 Prodotto

Art. 319229 KS 7.10 7.10 FL40 ZP V4A

GTIN (EAN) 4013364108752, Codice doganale (EU): 85359000, Peso lordo: 413.80 g, UM: 25.00 pz.


Immagini

Maggior informazioni

Morsetti a croce con piastra intermedia per due conduttori a sezione tonda e a sezione piatta fino a 40 mm
Morsetti a croce per collegamenti fuori terra e
sotto terra
per il collegamento di conduttori
disposti a croce, in parallelo e a "T"
con piastra intermedia per
sezione tonda e piatta fino a 40 mm
Materiale morsetto: INOX (V4A)
Campo di serraggio Td/Td: 7-10 / 7-10 mm
Campo di serraggio Td/Pt: 7-10 / 30-40 mm
Campo di serraggio Pt/Pt: 30-40 / 30-40 mm
Materiale vite / dado: INOX (V4A)
Materiale n.: 1.4571 / 1.4404 / 1.4401
ASTM / AISI:: 316Ti / 316L / 316
Piastra intermedia: sì
Riferimento norma: CEI EN 62561-1

Fabbricato: DEHN
Tipo: KS 7.10 7.10 FL40 ZP V4A
Art.: 319229
o similare.

Certificati

 

Caratteristiche tecniche

Materiale morsetto INOX (V4A)
Campo di serraggio Td/Td 7-10 / 7-10 mm
Campo di serraggio Td/Pt 7-10 / 30-40 mm
Campo di serraggio Pt/Pt 30-40 / 30-40 mm
Campo di serraggio (semirigido / cordato) 35-95 mm2
ASTM / AISI: 316Ti / 316L / 316
Dimensioni 70 x 70 x 3 mm
Riferimento norma CEI EN 62561-1
Corrente di cortocircuito (AC 50 Hz / DC) (1 s; ≤ 300 °C) 5,0 kA
*) Per l’attribuzione precisa vedere il certificato di prova.

Prodotto 319229 è stato aggiunto al blocco note.

Prodotto 319229 è stato aggiunto al carrello.

Apri Web-Shop

Con piastra intermedia per aste di adduzione a terra e aste di captazione

2 Prodotti

Art. 319202 KS 8.10 16 FL30 ZP STTZN

GTIN (EAN) 4013364024526, Codice doganale (EU): 85359000, Peso lordo: 337.80 g, UM: 25.00 pz.


Immagini

Maggior informazioni

Morsetti a croce con piastra intermedia per adduzioni a terra / aste di captazione
Morsetti a croce per collegamenti fuori terra e
sotto terra
per il collegamento di conduttori
disposti a croce, in parallelo e a "T"
con aste di adduzione a terra o di captazione
Materiale morsetto: Fe/tZn
Campo di serraggio Td/Td: 16/8-16 mm
Campo di serraggio Td/Pt: 16 / 30 mm
Materiale vite / dado: Fe/tZn
Piastra intermedia: sì
Riferimento norma: CEI EN 62561-1

Fabbricato: DEHN
Tipo: KS 8.10 16 FL30 ZP STTZN
Art.: 319202
o similare.

Certificati

 

Caratteristiche tecniche

Materiale morsetto Fe/tZn
Campo di serraggio Td/Td 16/8-16 mm
Campo di serraggio Td/Pt 16 / 30 mm
Dimensioni 60 x 60 x 3 mm
Riferimento norma CEI EN 62561-1
*) Per l’attribuzione precisa vedere il certificato di prova.

Prodotto 319202 è stato aggiunto al blocco note.

Prodotto 319202 è stato aggiunto al carrello.

Apri Web-Shop

Art. 319219 KS 8.10 16 FL30 ZP V4A

GTIN (EAN) 4013364069916, Codice doganale (EU): 85359000, Peso lordo: 323.90 g, UM: 25.00 pz.


Immagini

Maggior informazioni

Morsetti a croce con piastra intermedia per adduzioni a terra / aste di captazione
Morsetti a croce per collegamenti fuori terra e
sotto terra
per il collegamento di conduttori
disposti a croce, in parallelo e a "T"
con aste di adduzione a terra o di captazione
Materiale morsetto: INOX (V4A)
Campo di serraggio Td/Td: 16/8-10 mm
Campo di serraggio Td/Pt: 16 / 30 mm
Materiale vite / dado: INOX (V4A)
Materiale n.: 1.4571 / 1.4404 / 1.4401
ASTM / AISI:: 316Ti / 316L / 316
Piastra intermedia: sì
Riferimento norma: CEI EN 62561-1

Fabbricato: DEHN
Tipo: KS 8.10 16 FL30 ZP V4A
Art.: 319219
o similare.

Certificati

 

Caratteristiche tecniche

Materiale morsetto INOX (V4A)
Campo di serraggio Td/Td 16/8-10 mm
Campo di serraggio Td/Pt 16 / 30 mm
Campo di serraggio (semirigido / cordato) 35-120 mm2
ASTM / AISI: 316Ti / 316L / 316
Dimensioni 60 x 60 x 3 mm
Riferimento norma CEI EN 62561-1
*) Per l’attribuzione precisa vedere il certificato di prova.

Prodotto 319219 è stato aggiunto al blocco note.

Prodotto 319219 è stato aggiunto al carrello.

Apri Web-Shop

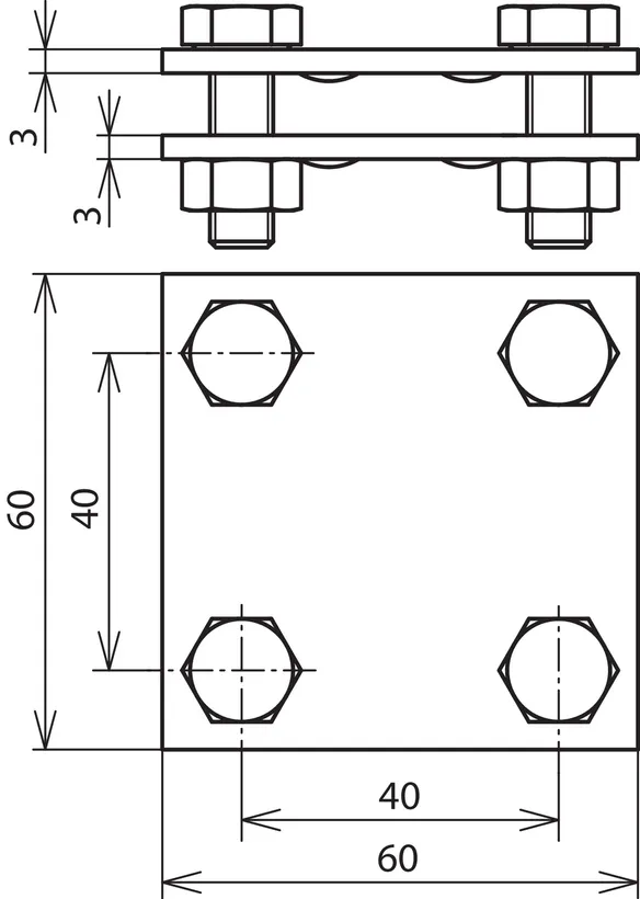
Senza piastra intermedia per Td e Pt

3 Prodotti

Art. 318201 KS 8.10 FL30 STTZN

GTIN (EAN) 4013364021464, Codice doganale (EU): 85359000, Peso lordo: 238.00 g, UM: 25.00 pz.


Immagini

Maggior informazioni

Morsetti a croce senza piastra intermedia per conduttori a sezione tonda e a sezione piatta in Fe/tZn
Morsetti a croce per collegamenti fuori terra e
sotto terra
per il collegamento di conduttori
disposti a croce, in parallelo e a "T"
Materiale morsetto: Fe/tZn
Campo di serraggio Td/Pt: 8-10 / 30 mm
Campo di serraggio Pt/Pt: 30 / 30 mm
Materiale vite / dado: Fe/tZn
Riferimento norma: CEI EN 62561-1

Fabbricato: DEHN
Tipo: KS 8.10 FL30 STTZN
Art.: 318201
o similare.

Certificati

 

Caratteristiche tecniche

Materiale morsetto Fe/tZn
Campo di serraggio Td/Pt 8-10 / 30 mm
Campo di serraggio Pt/Pt 30 / 30 mm
Dimensioni 60 x 60 x 3 mm
Riferimento norma CEI EN 62561-1
Corrente di cortocircuito (AC 50 Hz / DC) (1 s; ≤ 300 °C) 14 kA
*) Per l’attribuzione precisa vedere il certificato di prova.

Prodotto 318201 è stato aggiunto al blocco note.

Prodotto 318201 è stato aggiunto al carrello.

Apri Web-Shop

Art. 318207 KS 8.10 FL30 CU

GTIN (EAN) 4013364021488, Codice doganale (EU): 85359000, Peso lordo: 257.00 g, UM: 1.00 pz.


Immagini

Maggior informazioni

Morsetti a croce senza piastra intermedia per conduttori a sezione tonda e a sezione piatta in rame
Morsetti a croce per collegamenti fuori terra e
sotto terra
per il collegamento di conduttori
disposti a croce, in parallelo e a "T"
Materiale morsetto: Cu
Campo di serraggio Td/Pt: 8-10 / 30 mm
Campo di serraggio Pt/Pt: 30 / 30 mm
Materiale vite / dado: INOX (V4A)
Materiale n.: 1.4571 / 1.4404 / 1.4401
ASTM / AISI:: 316Ti / 316L / 316
Riferimento norma: CEI EN 62561-1

Fabbricato: DEHN
Tipo: KS 8.10 FL30 CU
Art.: 318207
o similare.

Certificati

 

Caratteristiche tecniche

Materiale morsetto Cu
Campo di serraggio Td/Pt 8-10 / 30 mm
Campo di serraggio Pt/Pt 30 / 30 mm
Campo di serraggio (semirigido / cordato) 35-120 mm2
ASTM / AISI: 316Ti / 316L / 316
Dimensioni 60 x 60 x 3 mm
Riferimento norma CEI EN 62561-1
Corrente di cortocircuito (AC 50 Hz / DC) (1 s; ≤ 300 °C) 29 kA
*) Per l’attribuzione precisa vedere il certificato di prova.

Prodotto 318207 è stato aggiunto al blocco note.

Prodotto 318207 è stato aggiunto al carrello.

Apri Web-Shop

Art. 318209 KS 8.10 FL30 V4A

GTIN (EAN) 4013364035973, Codice doganale (EU): 85359000, Peso lordo: 249.40 g, UM: 25.00 pz.


Immagini

Maggior informazioni

Morsetti a croce senza piastra intermedia per conduttori a sezione tonda e a sezione piatta in acciaio INOX (V4A)
Morsetti a croce per collegamenti fuori terra e
sotto terra
per il collegamento di conduttori
disposti a croce, in parallelo e a "T"
Materiale morsetto: INOX (V4A)
Campo di serraggio Td/Pt: 8-10 / 30 mm
Campo di serraggio Pt/Pt: 30 / 30 mm
Materiale vite / dado: INOX (V4A)
Materiale n.: 1.4571 / 1.4404 / 1.4401
ASTM / AISI:: 316Ti / 316L / 316
Riferimento norma: CEI EN 62561-1

Fabbricato: DEHN
Tipo: KS 8.10 FL30 V4A
Art.: 318209
o similare.

Certificati

 

Caratteristiche tecniche

Materiale morsetto INOX (V4A)
Campo di serraggio Td/Pt 8-10 / 30 mm
Campo di serraggio Pt/Pt 30 / 30 mm
Campo di serraggio (semirigido / cordato) 35-120 mm2
ASTM / AISI: 316Ti / 316L / 316
Dimensioni 60 x 60 x 3 mm
Riferimento norma CEI EN 62561-1
Corrente di cortocircuito (AC 50 Hz / DC) (1 s; ≤ 300 °C) 7,4 kA
*) Per l’attribuzione precisa vedere il certificato di prova.

Prodotto 318209 è stato aggiunto al blocco note.

Prodotto 318209 è stato aggiunto al carrello.

Apri Web-Shop

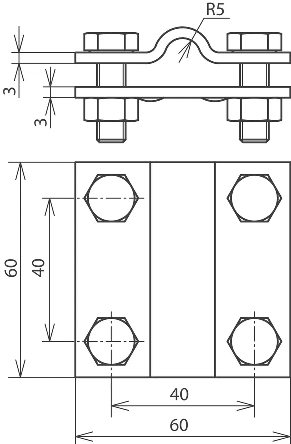
Senza piastra intermedia per due Td e Pt

2 Prodotti

Art. 318251 KS 8.10 8.10 FL30 STTZN

GTIN (EAN) 4013364046559, Codice doganale (EU): 85359000, Peso lordo: 245.00 g, UM: 25.00 pz.


Immagini

Maggior informazioni

Morsetti a croce senza piastra intermedia per due conduttori a sezione tonda e a sezione piatta in Fe/tZn
Morsetti a croce per collegamenti fuori terra e
sotto terra
per il collegamento di conduttori
disposti a croce, in parallelo e a "T"
Materiale morsetto: Fe/tZn
Campo di serraggio Td/Td: 8-10 / 8-10 mm
Campo di serraggio Td/Pt: 8-10 / 30 mm
Campo di serraggio Pt/Pt: 30 / 30 mm
Materiale vite / dado: Fe/tZn
Riferimento norma: CEI EN 62561-1

Fabbricato: DEHN
Tipo: KS 8.10 8.10 FL30 STTZN
Art.: 318251
o similare.

Certificati

 

Caratteristiche tecniche

Materiale morsetto Fe/tZn
Campo di serraggio Td/Td 8-10 / 8-10 mm
Campo di serraggio Td/Pt 8-10 / 30 mm
Campo di serraggio Pt/Pt 30 / 30 mm
Dimensioni 60 x 60 x 3 mm
Riferimento norma CEI EN 62561-1
Corrente di cortocircuito (AC 50 Hz / DC) (1 s; ≤ 300 °C) 14 kA
*) Per l’attribuzione precisa vedere il certificato di prova.

Prodotto 318251 è stato aggiunto al blocco note.

Prodotto 318251 è stato aggiunto al carrello.

Apri Web-Shop

Art. 318219 KS 8.10 8.10 FL30 V4A

GTIN (EAN) 4013364129320, Codice doganale (EU): 85359000, Peso lordo: 239.00 g, UM: 25.00 pz.


Immagini

Maggior informazioni

Morsetti a croce senza piastra intermedia per due conduttori a sezione tonda e a sezione piatta in acciaio INOX
Morsetti a croce per collegamenti fuori terra e
sotto terra
per il collegamento di conduttori
disposti a croce, in parallelo e a "T"
Materiale morsetto: INOX (V4A)
Campo di serraggio Td/Td: 8-10 / 8-10 mm
Campo di serraggio Td/Pt: 8-10 / 30 mm
Campo di serraggio Pt/Pt: 30 / 30 mm
Materiale vite / dado: INOX (V4A)
Materiale n.: 1.4571 / 1.4404 / 1.4401
ASTM / AISI:: 316Ti / 316L / 316
Riferimento norma: CEI EN 62561-1

Fabbricato: DEHN
Tipo: KS 8.10 8.10 FL30 V4A
Art.: 318219
o similare.

Certificati

 

Caratteristiche tecniche

Materiale morsetto INOX (V4A)
Campo di serraggio Td/Td 8-10 / 8-10 mm
Campo di serraggio Td/Pt 8-10 / 30 mm
Campo di serraggio Pt/Pt 30 / 30 mm
Campo di serraggio (semirigido / cordato) 35-120 mm2
ASTM / AISI: 316Ti / 316L / 316
Dimensioni 60 x 60 x 3 mm
Riferimento norma CEI EN 62561-1
Corrente di cortocircuito (AC 50 Hz / DC) (1 s; ≤ 300 °C) 7,4 kA
*) Per l’attribuzione precisa vedere il certificato di prova.

Prodotto 318219 è stato aggiunto al blocco note.

Prodotto 318219 è stato aggiunto al carrello.

Apri Web-Shop

Senza piastra intermedia per due Pt

2 Prodotti

Art. 318033 KS FL30 STTZN

GTIN (EAN) 4013364021471, Codice doganale (EU): 85359000, Peso lordo: 240.00 g, UM: 25.00 pz.


Immagini

Maggior informazioni

Morsetti a croce senza piastra intermedia per due conduttori a sezione piatta in Fe/tZn
Morsetti a croce per collegamenti fuori terra e
sotto terra
per il collegamento di conduttori
disposti a croce, in parallelo e a "T"
Materiale morsetto: Fe/tZn
Campo di serraggio Pt/Pt: 30 / 30 mm
Materiale vite / dado: Fe/tZn
Riferimento norma: CEI EN 62561-1

Fabbricato: DEHN
Tipo: KS FL30 STTZN
Art.: 318033
o similare.

Certificati

 

Caratteristiche tecniche

Materiale morsetto Fe/tZn
Campo di serraggio Pt/Pt 30 / 30 mm
Dimensioni 60 x 60 x 3 mm
Riferimento norma CEI EN 62561-1
Corrente di cortocircuito (AC 50 Hz / DC) (1 s; ≤ 300 °C) 8,4 kA
*) Per l’attribuzione precisa vedere il certificato di prova.

Prodotto 318033 è stato aggiunto al blocco note.

Prodotto 318033 è stato aggiunto al carrello.

Apri Web-Shop

Art. 318233 KS FL30 V4A

GTIN (EAN) 4013364096646, Codice doganale (EU): 85359000, Peso lordo: 229.30 g, UM: 25.00 pz.


Immagini

Maggior informazioni

Morsetti a croce senza piastra intermedia per due conduttori a sezione piatta in acciaio INOX (V4A)
Morsetti a croce per collegamenti fuori terra e
sotto terra
per il collegamento di conduttori
disposti a croce, in parallelo e a "T"
Materiale morsetto: INOX (V4A)
Campo di serraggio Pt/Pt: 30 / 30 mm
Materiale vite / dado: INOX (V4A)
Materiale n.: 1.4571 / 1.4404 / 1.4401
ASTM / AISI:: 316Ti / 316L / 316
Riferimento norma: CEI EN 62561-1

Fabbricato: DEHN
Tipo: KS FL30 V4A
Art.: 318233
o similare.

Certificati

 

Caratteristiche tecniche

Materiale morsetto INOX (V4A)
Campo di serraggio Pt/Pt 30 / 30 mm
ASTM / AISI: 316Ti / 316L / 316
Dimensioni 60 x 60 x 3 mm
Riferimento norma CEI EN 62561-1
Corrente di cortocircuito (AC 50 Hz / DC) (1 s; ≤ 300 °C) 7,0 kA
*) Per l’attribuzione precisa vedere il certificato di prova.

Prodotto 318233 è stato aggiunto al blocco note.

Prodotto 318233 è stato aggiunto al carrello.

Apri Web-Shop

Senza piastra intermedia per 2 Pt fino a 40 mm

1 Prodotto

Art. 320044 KS FL40 STTZN

GTIN (EAN) 4013364021501, Codice doganale (EU): 85359000, Peso lordo: 305.80 g, UM: 25.00 pz.


Immagini

Maggior informazioni

Morsetti a croce senza piastra intermedia per due conduttori a sezione piatta fino a 40 mm in Fe/tZn
Morsetti a croce per collegamenti fuori terra e
sotto terra
per il collegamento di conduttori
disposti a croce, in parallelo e a "T"
Materiale morsetto: Fe/tZn
Campo di serraggio Pt/Pt: 30-40 / 30-40 mm
Materiale vite / dado: Fe/tZn
Riferimento norma: CEI EN 62561-1

Fabbricato: DEHN
Tipo: KS FL40 STTZN
Art.: 320044
o similare.

Certificati

 

Caratteristiche tecniche

Materiale morsetto Fe/tZn
Campo di serraggio Pt/Pt 30-40 / 30-40 mm
Dimensioni 70 x 70 x 3 mm
Riferimento norma CEI EN 62561-1
Corrente di cortocircuito (AC 50 Hz / DC) (1 s; ≤ 300 °C) 12,6 kA
*) Per l’attribuzione precisa vedere il certificato di prova.

Prodotto 320044 è stato aggiunto al blocco note.

Prodotto 320044 è stato aggiunto al carrello.

Apri Web-Shop

Senza piastra intermedia per aste di adduzione a terra e aste di captazione

1 Prodotto

Art. 318252 KS 8.10 16 FL30 STTZN

GTIN (EAN) 4013364048454, Codice doganale (EU): 85359000, Peso lordo: 255.80 g, UM: 25.00 pz.


Immagini

Maggior informazioni

Morsetti a croce senza piastra intermedia per adduzioni a terra / aste di captazione
Morsetti a croce per collegamenti fuori terra e
sotto terra
per il collegamento di conduttori
disposti a croce, in parallelo e a "T"
Materiale morsetto: Fe/tZn
Campo di serraggio Td/Td: 8-10 / 16 mm
Campo di serraggio Td/Pt: 16 / 30 mm
Materiale vite / dado: Fe/tZn
Riferimento norma: CEI EN 62561-1

Fabbricato: DEHN
Tipo: KS 8.10 16 FL30 STTZN
Art.: 318252
o similare.

Certificati

 

Caratteristiche tecniche

Materiale morsetto Fe/tZn
Campo di serraggio Td/Td 8-10 / 16 mm
Campo di serraggio Td/Pt 16 / 30 mm
Dimensioni 60 x 60 x 3 mm
Riferimento norma CEI EN 62561-1
*) Per l’attribuzione precisa vedere il certificato di prova.

Prodotto 318252 è stato aggiunto al blocco note.

Prodotto 318252 è stato aggiunto al carrello.

Apri Web-Shop

back to top