Aste di captazione PRFV/Al

Asta di captazione per la realizzazione di dispositivi di captazione separati, ad es. su tetti piani, collocati su zoccolo in cemento con sistema a cuneo.

Per la determinazione della distanza di sicurezza (lunghezza dell’asta distanziatrice) si prende in considerazione il fattore di materiale km = 0,7.
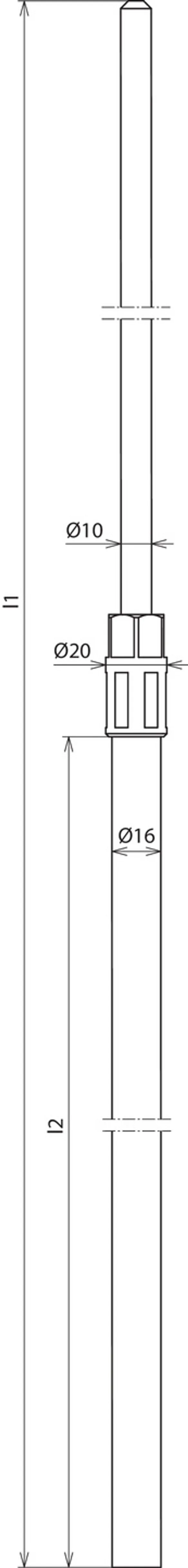
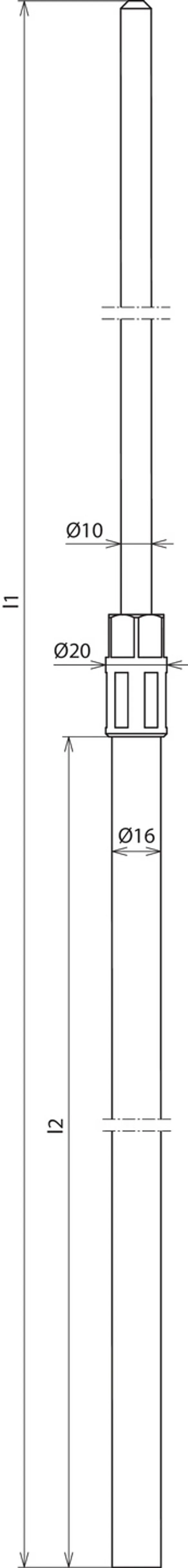
Diametro 16 mm, stabilizzata ai raggi UV, colore grigio chiaro, gamma di temperatura permanente da -50 a +100 °C.

Le aste di captazione con i 2 pezzi dello zoccolo in cemento (peso 17 kg) sono dimensionate conformi all’Eurocode 1 (DIN EN 1991-1-4 + DIN EN 1991-1-4/NA) .
Lo zoccolo in cemento sovrapponibile (art. n. 102 010) e la piastra di base (art. n. 102 050) sono da ordinare separatamente.

Le aste di captazione PRFV/Al soddisfano i requisiti della specifica tecnica DIN/IEC TS 62561-8.

Esecuzione pressata

2 Prodotti

Art. 106207 FS 16 10 1660 GFK AL

GTIN (EAN) 4013364127623, Codice doganale (EU): 85389099, Peso lordo: 493.00 g, UM: 10.00 pz.


Immagini

Maggior informazioni

Asta di captazione in PRFV/Al, versione con fissaggio a pressione, lunghezza totale 1660 mm
Aste di captazione PRFV/Al
per l’installazione di dispositivi di captazione separati, ad es.
su tetti piani, collocati su zoccolo in cemento con sistema a cuneo.
Per il rispetto della distanza di separazione secondo la norma DIN EN 62305-3 (VDE 0185-305-3).
Le aste di captazione sono dimensionate conformi
all’Eurocode 1 (DIN EN 1991-1-4 + DIN EN 1991-1-4/NA).
Asta distanziatrice in plastica rinforzata con fibra di vetro (PRFV) Ø 16 mm,
fattore di materiale km = 0,7, stabilizzata ai raggi UV, colore grigio chiaro
Versione con fissaggio a pressione
Lunghezza totale: 1660 mm
Isolamento: 635 mm
Materiale punta di captazione / boccola: Al
Materiale elemento distanziatore: PRFV
Max. velocità delle raffiche di vento (1 zoccolo 17 kg, distanziatore 1000 mm, Al Ø 8 mm): 114 km/h
Max. velocità delle raffiche di vento (2 zoccoli 17 kg, distanziatore 1000 mm, Al Ø 8 mm): 129 km/h
Riferimento normativo: DIN IEC/TS 62561-8 (VDE V 0185-561-8)

Fabbricato: DEHN
Tipo: FS 16 10 1660 GFK AL
Art.: 106207
o similare.

Certificati

 

Caratteristiche tecniche

Lunghezza totale (l1) 1660 mm
Isolamento (l2) 635 mm
Materiale punta di captazione / boccola Al
Max. velocità delle raffiche di vento (1 zoccolo 17 kg, distanziatore 1000 mm, Al Ø 8 mm) 114 km/h
Max. velocità delle raffiche di vento (2 zoccoli 17 kg, distanziatore 1000 mm, Al Ø 8 mm) 129 km/h
Riferimento normativo DIN IEC/TS 62561-8 (VDE V 0185-561-8)

Prodotto 106207 è stato aggiunto al blocco note.

Prodotto 106207 è stato aggiunto al carrello.

Apri Web-Shop

Art. 106210 FS 16 10 2000 GFK AL

GTIN (EAN) 4013364127630, Codice doganale (EU): 85389099, Peso lordo: 625.00 g, UM: 10.00 pz.


Immagini

Maggior informazioni

Asta di captazione in PRFV/Al, versione con fissaggio a pressione, lunghezza totale 2000 mm
Aste di captazione PRFV/Al
per l’installazione di dispositivi di captazione separati, ad es.
su tetti piani, collocati su zoccolo in cemento con sistema a cuneo.
Per il rispetto della distanza di separazione secondo la norma DIN EN 62305-3 (VDE 0185-305-3).
Le aste di captazione sono dimensionate conformi
all’Eurocode Asta di captazione in PRFV/Al, versione con fissaggio a pressione, lunghezza totale 1660 mm.
Aste di captazione PRFV/Al
per l’installazione di dispositivi di captazione separati, ad es.
su tetti piani, collocati su zoccolo in cemento con sistema a cuneo.
Per il rispetto della distanza di separazione secondo la norma DIN EN 62305-3 (VDE 0185-305-3).
Le aste di captazione sono dimensionate conformi
all’Eurocode 1 (DIN EN 1991-1-4 + DIN EN 1991-1-4/NA).
Asta distanziatrice in plastica rinforzata con fibra di vetro (PRFV) Ø 16 mm,
fattore di materiale km = 0,7, stabilizzata ai raggi UV, colore grigio chiaro
Versione con fissaggio a pressione
Asta distanziatrice in plastica rinforzata con fibra di vetro (PRFV) Ø 16 mm,
fattore di materiale km = 0,7, stabilizzata ai raggi UV, colore grigio chiaro
Versione con fissaggio a pressione
Lunghezza totale: 2000 mm
Isolamento: 975 mm
Materiale punta di captazione / boccola: Al
Materiale elemento distanziatore: PRFV
Max. velocità delle raffiche di vento (1 zoccolo 17 kg, distanziatore 1000 mm, Al Ø 8 mm): 93 km/h
Max. velocità delle raffiche di vento (2 zoccoli 17 kg, distanziatore 1000 mm, Al Ø 8 mm): 105 km/h
Riferimento normativo: DIN IEC/TS 62561-8 (VDE V 0185-561-8)

Fabbricato: DEHN
Tipo: FS 16 10 2000 GFK AL
Art.: 106210
o similare.

Certificati

 

Caratteristiche tecniche

Lunghezza totale (l1) 2000 mm
Isolamento (l2) 975 mm
Materiale punta di captazione / boccola Al
Max. velocità delle raffiche di vento (1 zoccolo 17 kg, distanziatore 1000 mm, Al Ø 8 mm) 93 km/h
Max. velocità delle raffiche di vento (2 zoccoli 17 kg, distanziatore 1000 mm, Al Ø 8 mm) 105 km/h
Riferimento normativo DIN IEC/TS 62561-8 (VDE V 0185-561-8)

Prodotto 106210 è stato aggiunto al blocco note.

Prodotto 106210 è stato aggiunto al carrello.

Apri Web-Shop

Esecuzione componibile con filetto M10

P.es. per punta di captazione (Art. 101 001), oppure punta di captazione con morsetto MV (Art. 105 071, per punti d’incrocio), oppure morsetto MV (Art. 105 079) per il fissaggio del conduttore di captazione.

2 Prodotti

Art. 106217 DIST 16 M10 675 GFK

GTIN (EAN) 4013364128811, Codice doganale (EU): 85389099, Peso lordo: 280.00 g, UM: 10.00 pz.

Predecessore

Immagini

Maggior informazioni

Asta di captazione PRFV/Al con filetto M10 lunghezza totale 675 mm
Asta di captazione PRFV/Al
per la realizzazione di impianti di captazione isolati, p.es. su tetti piani, fissati tramite zoccoli in cemento con cuneo
Per il rispetto della distanza di sicurezza secondo CEI EN 62305-3 (CEI 81-10/3).
Distanziatore in materiale plastico rinforzato con fibra di vetro (PRFV) D 16 mm, coefficiente materiale km = 0,7
stabilizzato ai raggi UV, colore grigio chiaro
esecuzione variabile con filetto M10
ad es. per asta di captazione art. n. 101 001, asta di captazione con morsetto MV art. n. 105 071
Lunghezza totale: 675 mm
Isolamento: 635 mm
Materiale punta di captazione / boccola: Al
Materiale elemento distanziatore: PRFV
Riferimento normativo: DIN IEC/TS 62561-8 (VDE V 0185-561-8)

Fabbricato: DEHN
Tipo: DIST 16 M10 675 GFK
Art.: 106217
o similare.

Certificati

 

Caratteristiche tecniche

Lunghezza totale (l1) 675 mm
Isolamento (l2) 635 mm
Materiale punta di captazione / boccola Al
Riferimento normativo DIN IEC/TS 62561-8 (VDE V 0185-561-8)

Prodotto 106217 è stato aggiunto al blocco note.

Prodotto 106217 è stato aggiunto al carrello.

Apri Web-Shop

Art. 106220 DIST 16 M10 1015 GFK

GTIN (EAN) 4013364128828, Codice doganale (EU): 85389099, Peso lordo: 410.00 g, UM: 10.00 pz.


Immagini

Maggior informazioni

Asta di captazione PRFV/Al con filetto M10 lunghezza totale 1015 mm
Aste di captazione PRFV/Al
per la realizzazione di captatori isolati, p.es. su tetti piani, fissati tramite zoccolo in cemento con cuneo.
Per il rispetto della distanza di sicurezza secondo CEI EN 62305-3 (CEI 81-10/3).
Distanziatore in materiale plastico rinforzato con fibra di vetro (PRFV) D 16 mm, coefficiente materiale km = 0,7
stabilizzato ai raggi UV, colore grigio chiaro
esecuzione variabile con filetto M10
ad es. per asta di captazione art. n. 101 001, asta di captazione con morsetto MV art. n. 105 071
Lunghezza totale: 1015 mm
Isolamento: 975 mm
Materiale punta di captazione / boccola: Al
Materiale elemento distanziatore: PRFV
Riferimento normativo: DIN IEC/TS 62561-8 (VDE V 0185-561-8)

Fabbricato: DEHN
Tipo: DIST 16 M10 1015 GFK
Art.: 106220
o similare.

Certificati

 

Caratteristiche tecniche

Lunghezza totale (l1) 1015 mm
Isolamento (l2) 975 mm
Materiale punta di captazione / boccola Al
Riferimento normativo DIN IEC/TS 62561-8 (VDE V 0185-561-8)

Prodotto 106220 è stato aggiunto al blocco note.

Prodotto 106220 è stato aggiunto al carrello.

Apri Web-Shop

back to top