Elementi per edifici con tetti morbidi

Componenti per la protezione da fulmini su tetti morbidi p. es. in paglia o canna palustre.
Le funi di captazione su tetti in paglia oppure canna palustre devono essere tese in modo libero, p.es. su sostegnni isolati. Anche nella zona della falda sono da rispettare determinate distanze.
Senza ulteriori staffaggi possono essere realizzate estensioni lungo il colmo fino a 15 m ed estensioni di calate fino a 10 m. I pali di ancoraggio devono essere fissati direttamente con bulloni e rondelle alla costruzione del tetto (puntone e traverse).

Impianti parafulmine su edifici con tetti morbidi "tetto di paglia" vengono fatti spesso oggi con parafulmine HVI.

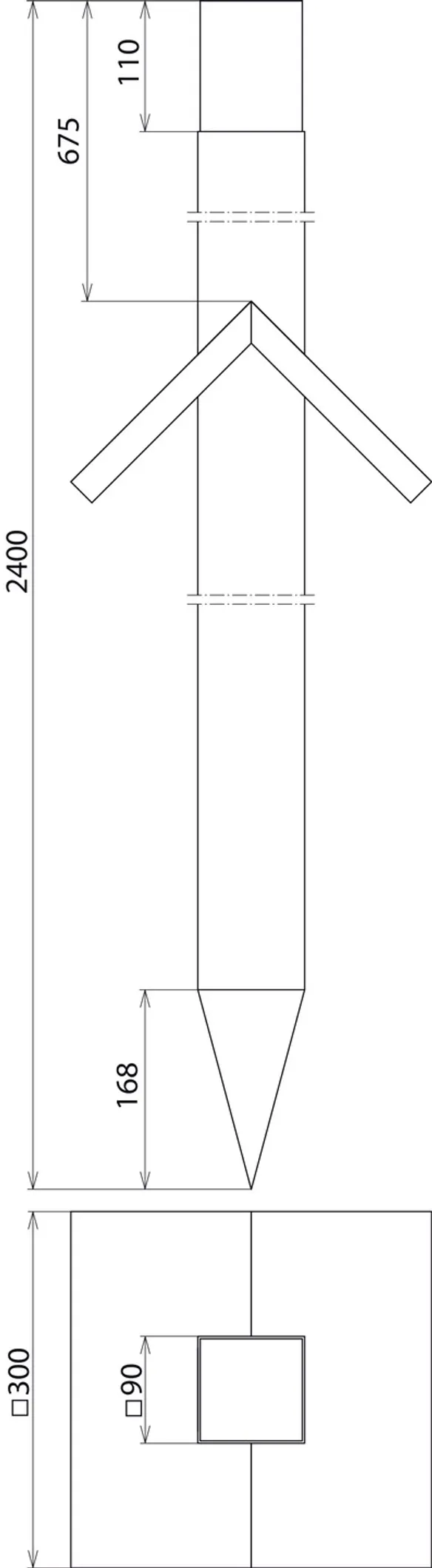
Palo di legno

Con pensilina, adatto per cappuccio d'ancoraggio (Art. 146 309).

1 Prodotto

Art. 145241 HP 90X90 2400 EHI

GTIN (EAN) 4013364022584, Codice doganale (EU): 44219999, Peso lordo: 52.00 kg, UM: 1.00 pz.


Immagini

Maggior informazioni

Palo di legno con pensilina
Palo di legno con pensilina,
per la posa del captatore
su tetti morbidi
adatto per cappuccio d'ancoraggio (art. 146 309)
Materiale: legno di quercia (impregnato)
Dimensioni: 90 x 90 x 2400 mm

Fabbricato: DEHN
Tipo: HP 90X90 2400 EHI
Art.: 145241
o similare.

 

Caratteristiche tecniche

Materiale legno di quercia (impregnato)
Dimensioni (l x b x h) 90 x 90 x 2400 mm

Prodotto 145241 è stato aggiunto al blocco note.

Prodotto 145241 è stato aggiunto al carrello.

Apri Web-Shop

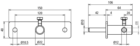
Cappuccio d'ancoraggio

Per il fissaggio su pali a legno (Art. 145 241).
Con punta di captazione (lunghezza 300 mm, Ø10 mm in INOX).

1 Prodotto

Art. 146309 SPK 100X100 FSP10 300 7.10 V2A

GTIN (EAN) 4013364072398, Codice doganale (EU): 85389099, Peso lordo: 864.20 g, UM: 1.00 pz.


Immagini

Maggior informazioni

Cappuccio d'ancoraggio per il fissaggio su pali di legno
Cappuccio d'ancoraggio per il fissaggio su pali a legno
(art. n. 145 241) con punta di captazione
(lunghezza 300 mm, Ø10 mm in INOX (V2A))
Materiale: INOX
Serraggio Td: 7-10 mm

Fabbricato: DEHN
Tipo: SPK 100X100 FSP10 300 7.10 V2A
Art.: 146309
o similare.

Certificati

 

Caratteristiche tecniche

Materiale INOX
Serraggio Td 7-10 mm

Prodotto 146309 è stato aggiunto al blocco note.

Prodotto 146309 è stato aggiunto al carrello.

Apri Web-Shop

Appoggio portafilo per tetti

Con staffa portafilo.

1 Prodotto

Art. 240000 DLS 6.10 134X300X598 EHI

GTIN (EAN) 4013364022614, Codice doganale (EU): 44219999, Peso lordo: 1.50 kg, UM: 1.00 pz.


Immagini

Maggior informazioni

Appoggio portafilo per tetti con staffa portafilo
Appoggio portafilo per tetti per la posa dei captatori/delle calate
su tetti morbidi verso la grondaia
compresa staffa portafilo con graffa
in INOX (art. n. 273 019)
Materiale: legno di quercia (impregnato)
Dimensioni: 134 x 300 x 598 mm
Serraggio Td: 6-10 mm

Fabbricato: DEHN
Tipo: DLS 6.10 134X300X598 EHI
Art.: 240000
o similare.

Certificati

 

Caratteristiche tecniche

Materiale legno di quercia (impregnato)
Dimensioni (l x b x h) 134 x 300 x 598 mm
Serraggio Td 6-10 mm

Prodotto 240000 è stato aggiunto al blocco note.

Prodotto 240000 è stato aggiunto al carrello.

Apri Web-Shop

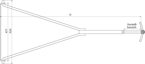
Appoggio grondaia Fe/tZn / INOX

Per l'ancoraggio dei conduttori / corde.
Distanza variabile tra parete e condutore.

4 Prodotti

Art. 239000 TS 7.10 V1.0 1.15M STTZN

GTIN (EAN) 4013364022621, Codice doganale (EU): 85389099, Peso lordo: 4.70 kg, UM: 1.00 pz.


Immagini

Maggior informazioni

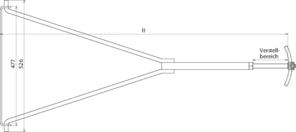
Appoggio grondaia per l'ancoraggio dei conduttori/conduttori cordati in Fe/tZn
Appoggio grondaia per l'ancoraggio dei conduttori,
Distanza regolabile tra parete e condutori
Materiale: Fe/tZn
Serraggio Td: 7-10 mm

Fabbricato: DEHN
Tipo: TS 7.10 V1.0 1.15M STTZN
Art.: 239000
o similare.

Certificati

 

Caratteristiche tecniche

Materiale Fe/tZn
Campo di regolazione (l1) 1,05-1,20 m
Serraggio Td 7-10 mm

Prodotto 239000 è stato aggiunto al blocco note.

Prodotto 239000 è stato aggiunto al carrello.

Apri Web-Shop

Art. 239001 TS 7.10 V1.25 1.40M STTZN

GTIN (EAN) 4013364022638, Codice doganale (EU): 85389099, Peso lordo: 5.17 kg, UM: 1.00 pz.


Immagini

Maggior informazioni

Appoggio grondaia per l'ancoraggio dei conduttori/conduttori cordati in Fe/tZn
Appoggio grondaia per l'ancoraggio dei conduttori,
Distanza regolabile tra parete e condutori
Materiale: Fe/tZn
Serraggio Td: 7-10 mm

Fabbricato: DEHN
Tipo: TS 7.10 V1.25 1.40M STTZN
Art.: 239001
o similare.

Certificati

 

Caratteristiche tecniche

Materiale Fe/tZn
Campo di regolazione (l1) 1,40-1,55 m
Serraggio Td 7-10 mm

Prodotto 239001 è stato aggiunto al blocco note.

Prodotto 239001 è stato aggiunto al carrello.

Apri Web-Shop

Art. 239009 TS 7.10 V1.25 1.55M V2A

GTIN (EAN) 4013364072350, Codice doganale (EU): 85389099, Peso lordo: 4.04 kg, UM: 1.00 pz.


Immagini

Maggior informazioni

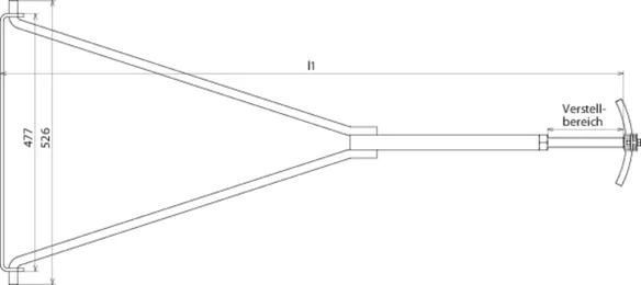
Appoggio grondaia per l'ancoraggio dei conduttori/conduttori cordati in INOX
Appoggio grondaia per l'ancoraggio dei conduttori,
Distanza regolabile tra parete e condutori
Materiale: INOX
Serraggio Td: 7-10 mm

Fabbricato: DEHN
Tipo: TS 7.10 V1.25 1.55M V2A
Art.: 239009
o similare.

Certificati

 

Caratteristiche tecniche

Materiale INOX
Campo di regolazione (l1) 1,25-1,55 m
Serraggio Td 7-10 mm

Prodotto 239009 è stato aggiunto al blocco note.

Prodotto 239009 è stato aggiunto al carrello.

Apri Web-Shop

Art. 239019 TS 7.10 V1.45 1.75M V2A

GTIN (EAN) 4013364093560, Codice doganale (EU): 85389099, Peso lordo: 5.20 kg, UM: 1.00 pz.


Immagini

Maggior informazioni

Appoggio grondaia per l'ancoraggio dei conduttori/delle corde, INOX
Appoggio grondaia per l'ancoraggio dei conduttori
Distanza regolabile tra parete e condutori
Materiale: INOX
Serraggio Td: 7-10 mm

Fabbricato: DEHN
Tipo: TS 7.10 V1.45 1.75M V2A
Art.: 239019
o similare.

Certificati

 

Caratteristiche tecniche

Materiale INOX
Campo di regolazione (l1) 1,45-1,75 m
Serraggio Td 7-10 mm

Prodotto 239019 è stato aggiunto al blocco note.

Prodotto 239019 è stato aggiunto al carrello.

Apri Web-Shop

Perno d'ancoraggio

Per il fissaggio/ ancoraggio del conduttore / della fune alla parete.

1 Prodotto

Art. 241009 ASK 8 150 40 2XB10.5 V2A

GTIN (EAN) 4013364072985, Codice doganale (EU): 85389099, Peso lordo: 383.21 g, UM: 20.00 pz.


Immagini

Maggior informazioni

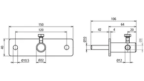
Perno d'ancoraggio
Perno d'ancoraggio per il fissaggio/l'ancoraggio
della calata alla parete
o alla facciata
Materiale: INOX
Dimensioni: 150 x 40 x 6 mm
Serraggio Td: 8 mm

Fabbricato: DEHN
Tipo: ASK 8 150 40 2XB10.5 V2A
Art.: 241009
o similare.

Certificati

 

Caratteristiche tecniche

Materiale INOX
Dimensioni (l x b x t) 150 x 40 x 6 mm
Serraggio Td 8 mm

Prodotto 241009 è stato aggiunto al blocco note.

Prodotto 241009 è stato aggiunto al carrello.

Apri Web-Shop

back to top